US12487050 - Air gun

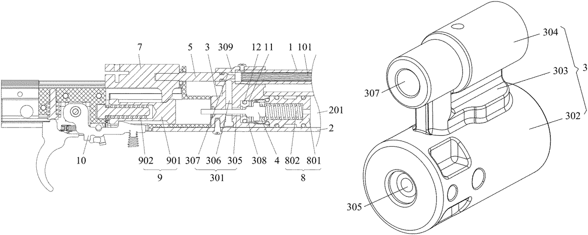
The patent describes an air gun featuring a cartridge with a launching chamber and a cylinder with an air chamber, which includes an integrally-formed air valve that connects the two. The air valve utilizes movable pins to control the opening and closing of air passages, allowing for the regulation of air flow between the air chamber and the launching chamber.
Claim 1
1 . An air gun, comprising: a cartridge comprising a launching chamber; a cylinder comprising an air chamber; an air valve; a first pin; and a second pin; a cartridge comprising a launching chamber; a cylinder comprising an air chamber; an air valve; a first pin; and a second pin; wherein: the air valve is disposed in the air chamber and partially extends out of the cylinder to connect to the cartridge; the air valve is a single, integrally formed structure and comprises a first connection column, a second connection column, and a connection block; the connection block is connected to the first connection column and the second connection column and is integrally formed with the first connection column and the second connection column; and an air passage comprising an air inlet and an air outlet is disposed within the air valve; the air passage further comprises a first passage, a second passage, and a third passage; the first passage axially extends within the first connection column; the third passage axially extends within the second connection column; and the second passage extends through the connection block and communicates the first passage with the third passage; the first connection column is disposed in the air chamber and detachably connected to the cylinder, and the second connection column is detachably connected to the cartridge; the air inlet is configured to communicate the air chamber with the first connection column; the air outlet is configured to communicate the launching chamber with the second connection column; and the first pin is disposed through the first connection column and is movable relative to the cylinder to open and close the air inlet; the cartridge extends axially into the second connection column from a first opening of the third passage; the second pin has a solid structure and extends axially into the second connection column from a second opening of the third passage; and a sliding seat is disposed on the cylinder; the second pin is connected to the sliding seat; the sliding seat is movable between a first position and a second position; when the sliding seat is in the first position, the second pin is positioned within the launching chamber and closes the air outlet; and when the sliding seat is in the second position, the second pin is retracted from the launching chamber and opens the air outlet. the air valve is disposed in the air chamber and partially extends out of the cylinder to connect to the cartridge; the air valve is a single, integrally formed structure and comprises a first connection column, a second connection column, and a connection block; the connection block is connected to the first connection column and the second connection column and is integrally formed with the first connection column and the second connection column; and an air passage comprising an air inlet and an air outlet is disposed within the air valve; the air passage further comprises a first passage, a second passage, and a third passage; the first passage axially extends within the first connection column; the third passage axially extends within the second connection column; and the second passage extends through the connection block and communicates the first passage with the third passage; the first connection column is disposed in the air chamber and detachably connected to the cylinder, and the second connection column is detachably connected to the cartridge; the air inlet is configured to communicate the air chamber with the first connection column; the air outlet is configured to communicate the launching chamber with the second connection column; and the first pin is disposed through the first connection column and is movable relative to the cylinder to open and close the air inlet; the cartridge extends axially into the second connection column from a first opening of the third passage; the second pin has a solid structure and extends axially into the second connection column from a second opening of the third passage; and a sliding seat is disposed on the cylinder; the second pin is connected to the sliding seat; the sliding seat is movable between a first position and a second position; when the sliding seat is in the first position, the second pin is positioned within the launching chamber and closes the air outlet; and when the sliding seat is in the second position, the second pin is retracted from the launching chamber and opens the air outlet.
Google Patents
https://patents.google.com/patent/US12487050
USPTO PDF
https://image-ppubs.uspto.gov/dirsearch-public/print/downloadPdf/12487050