US12480749 - Target throwing machine

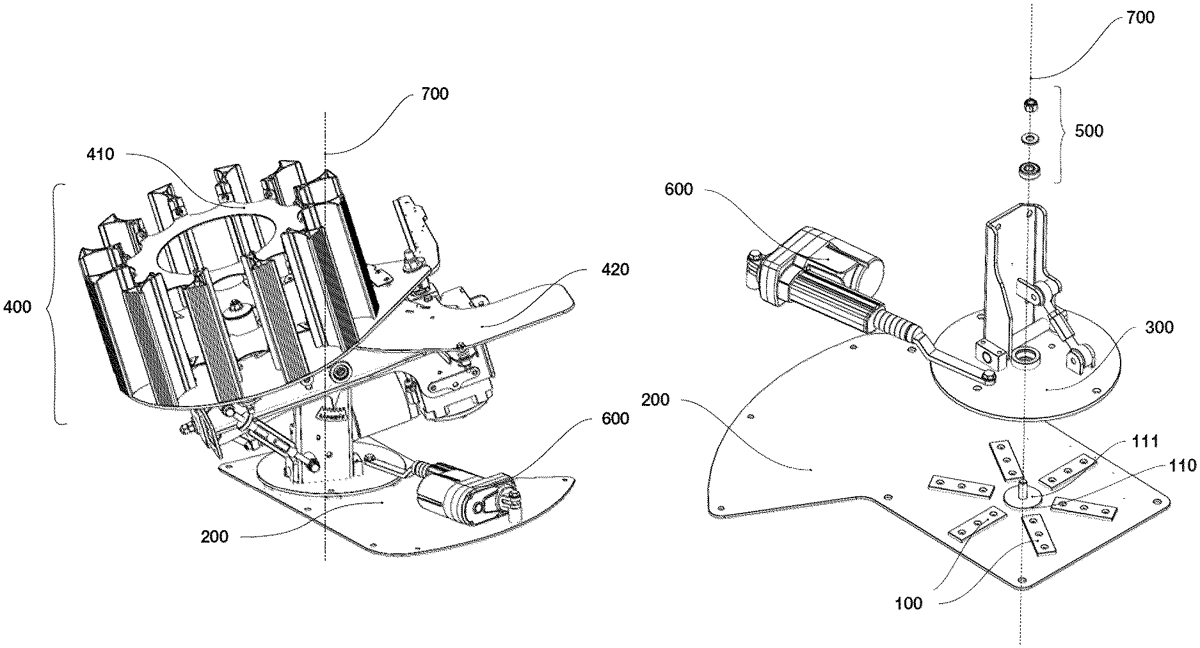
The patent describes a target throwing machine featuring a turret that rotates relative to a base, equipped with a throwing unit. An intermediate system is included to create a sliding interface between the turret and the base, enhancing the machine’s functionality.
Claim 1
1 . A target throwing machine, comprising: a base, and a turret surmounted by a throwing unit, wherein, the turret being movable in rotation relative to the base according to a main axis, the base comprising an upper surface and the turret comprising a lower surface opposite the upper surface, wherein, the target throwing machine comprising: an intermediate system interposed between the upper surface and the lower surface, the intermediate system being in contact with the upper surface and the lower surface and forming a sliding surface between the intermediate system and the upper surface and/or the lower surface, the sliding surface comprising several separate sliding parts. a base, and a turret surmounted by a throwing unit, wherein, the turret being movable in rotation relative to the base according to a main axis, the base comprising an upper surface and the turret comprising a lower surface opposite the upper surface, wherein, the target throwing machine comprising: an intermediate system interposed between the upper surface and the lower surface, the intermediate system being in contact with the upper surface and the lower surface and forming a sliding surface between the intermediate system and the upper surface and/or the lower surface, the sliding surface comprising several separate sliding parts. an intermediate system interposed between the upper surface and the lower surface, the intermediate system being in contact with the upper surface and the lower surface and forming a sliding surface between the intermediate system and the upper surface and/or the lower surface, the sliding surface comprising several separate sliding parts.
Google Patents
https://patents.google.com/patent/US12480749
USPTO PDF
https://image-ppubs.uspto.gov/dirsearch-public/print/downloadPdf/12480749