US12477947 - Powering sensor packages in moving platforms

This patent describes a projectile equipped with a thermoelectric generator (TEG) system that harnesses thermal energy from hypersonic flow to power a sensor package and guidance controller. The TEG system maintains a temperature differential using a heatsink and heat pipe, enabling the processing of image data to guide the projectile during flight.
Claim 1
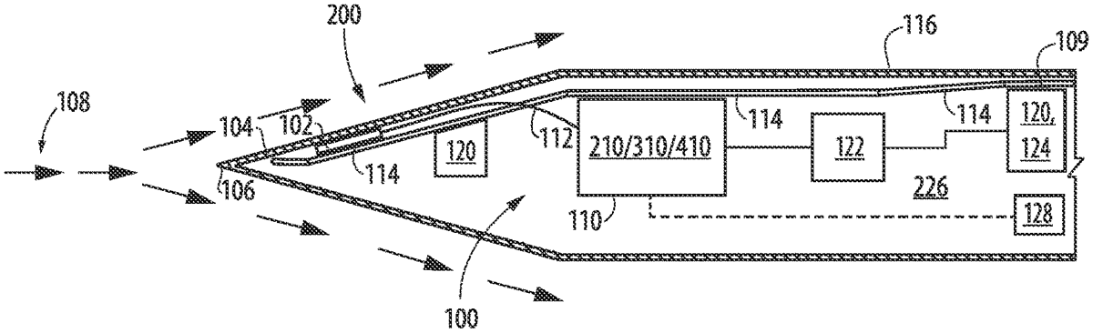
1 . A system, comprising: a projectile having a body, a guidance controller, and a sensor package operatively connected to the guidance controller configured to guide the projectile in flight; a thermoelectric generator (TEG) system operatively connected to the projectile, the TEG system including: a TEG conversion element in thermal communication with a leading edge surface of the body subject to hypersonic flow during the flight of the projectile; a heatsink, physically separated from the TEG conversion element, thermally connected to an aft surface of the body and configured to generate a temperature differential across the TEG conversion element and the leading edge surface; and a heat pipe configured to: thermally communicate between the TEG conversion element and the heatsink at the aft surface of the body to maintain the temperature differential across the TEG conversion element; and thermally communicate with one or more additional components to cool the one or more additional components; and an electrical conductor operatively connecting between the TEG conversion element and a powered unit onboard the projectile and configured to supply electrical energy from the TEG conversion element to the powered unit, wherein the powered unit includes the sensor package such that the sensor package is powered by the electrical energy generated by the TEG conversion element, wherein the sensor package includes an imaging sensor, wherein the powered unit further includes at least one processor operatively connected to the imaging sensor of the sensor package and configured to process image data, and wherein the at least one processor is configured to communicate with the guidance controller to control one or more control surfaces of the projectile to at least in part guide the projectile based on the processed image data. a projectile having a body, a guidance controller, and a sensor package operatively connected to the guidance controller configured to guide the projectile in flight; a thermoelectric generator (TEG) system operatively connected to the projectile, the TEG system including: a TEG conversion element in thermal communication with a leading edge surface of the body subject to hypersonic flow during the flight of the projectile; a heatsink, physically separated from the TEG conversion element, thermally connected to an aft surface of the body and configured to generate a temperature differential across the TEG conversion element and the leading edge surface; and a heat pipe configured to: thermally communicate between the TEG conversion element and the heatsink at the aft surface of the body to maintain the temperature differential across the TEG conversion element; and thermally communicate with one or more additional components to cool the one or more additional components; and a TEG conversion element in thermal communication with a leading edge surface of the body subject to hypersonic flow during the flight of the projectile; a heatsink, physically separated from the TEG conversion element, thermally connected to an aft surface of the body and configured to generate a temperature differential across the TEG conversion element and the leading edge surface; and a heat pipe configured to: thermally communicate between the TEG conversion element and the heatsink at the aft surface of the body to maintain the temperature differential across the TEG conversion element; and thermally communicate with one or more additional components to cool the one or more additional components; and thermally communicate between the TEG conversion element and the heatsink at the aft surface of the body to maintain the temperature differential across the TEG conversion element; and thermally communicate with one or more additional components to cool the one or more additional components; and an electrical conductor operatively connecting between the TEG conversion element and a powered unit onboard the projectile and configured to supply electrical energy from the TEG conversion element to the powered unit, wherein the powered unit includes the sensor package such that the sensor package is powered by the electrical energy generated by the TEG conversion element, wherein the sensor package includes an imaging sensor, wherein the powered unit further includes at least one processor operatively connected to the imaging sensor of the sensor package and configured to process image data, and wherein the at least one processor is configured to communicate with the guidance controller to control one or more control surfaces of the projectile to at least in part guide the projectile based on the processed image data.
Google Patents
https://patents.google.com/patent/US12477947
USPTO PDF
https://image-ppubs.uspto.gov/dirsearch-public/print/downloadPdf/12477947