US12474146 - High speed actuation systems

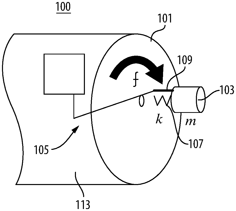
The patent describes a high-speed actuation system that utilizes a spinning structure and a mass that can be moved relative to it to induce a precession torque in a controlled direction. This system aims to enhance the performance and stability of the spinning structure during operation by synchronizing the movement of the mass with the spin.
Claim 1
1 . A system, comprising: a spinning structure configured to spin in operation; a mass operatively connected to the spinning structure, the mass configured to rotate with the spinning structure about a spin axis of the spinning structure, wherein the mass is configured to be moved relative to the spinning structure during a spin of the spinning structure; and an actuation system configured to move the mass relative to the spinning structure, wherein the actuation system is further configured to control movement of the mass and to synchronize the movement of the mass to a rotation angle of the spinning structure, thereby inducing a synchronous precession torque to the spinning structure in a desired direction. a spinning structure configured to spin in operation; a mass operatively connected to the spinning structure, the mass configured to rotate with the spinning structure about a spin axis of the spinning structure, wherein the mass is configured to be moved relative to the spinning structure during a spin of the spinning structure; and an actuation system configured to move the mass relative to the spinning structure, wherein the actuation system is further configured to control movement of the mass and to synchronize the movement of the mass to a rotation angle of the spinning structure, thereby inducing a synchronous precession torque to the spinning structure in a desired direction.
Google Patents
https://patents.google.com/patent/US12474146
USPTO PDF
https://image-ppubs.uspto.gov/dirsearch-public/print/downloadPdf/12474146