US12474138 - Spring-loaded piercing mechanism for a pressurized gas vessel

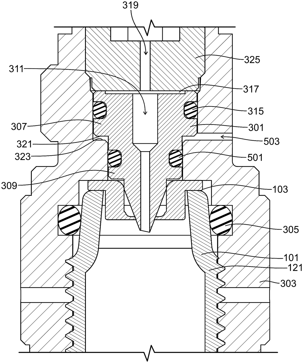
The patent describes a spring-loaded piercing mechanism designed for a pressurized gas vessel with a recessed membrane, featuring an inner housing that controls the vessel’s movement and an outer housing that allows for selective piercing of the membrane by a pin. The mechanism includes a biasing member that prevents the pin from contacting the membrane until the inner housing is slidably adjusted to compress the biasing member, enabling the piercing action.
Claim 1
1 . A piercing mechanism for a pressure vessel having a recessed membrane, said piercing mechanism comprising: an inner housing configured to receive the pressure vessel and control longitudinal movement of the pressure vessel in the inner housing; an outer housing in which the inner housing is slidably received; a pin in the outer housing extending longitudinally through a portion of the inner housing in alignment with the membrane and configured to selectably pierce the membrane when the pressure vessel is received in the inner housing; and a biasing member in the outer housing configured to bias the inner housing longitudinally away from an interior surface of the outer housing so that the pin does not contact the membrane when the pressure vessel is received in the inner housing; wherein the inner housing is selectably slidable to compress the biasing member and cause the pin to pierce the membrane when the pressure vessel is received in the inner housing. an inner housing configured to receive the pressure vessel and control longitudinal movement of the pressure vessel in the inner housing; an outer housing in which the inner housing is slidably received; a pin in the outer housing extending longitudinally through a portion of the inner housing in alignment with the membrane and configured to selectably pierce the membrane when the pressure vessel is received in the inner housing; and a biasing member in the outer housing configured to bias the inner housing longitudinally away from an interior surface of the outer housing so that the pin does not contact the membrane when the pressure vessel is received in the inner housing; wherein the inner housing is selectably slidable to compress the biasing member and cause the pin to pierce the membrane when the pressure vessel is received in the inner housing.
Google Patents
https://patents.google.com/patent/US12474138
USPTO PDF
https://image-ppubs.uspto.gov/dirsearch-public/print/downloadPdf/12474138