US12468139 - Weapon sight packaging

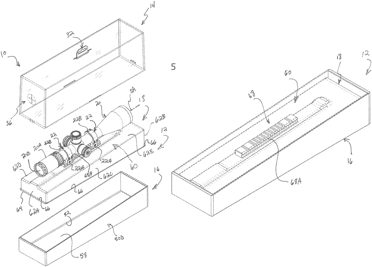
The patent describes a specialized packaging for optical sighting devices, such as telescopic sights, that allows users to view the device through a cover while maintaining alignment with the sighting axis. The packaging includes a base with a mount that imitates a portion of a firearm, providing support for the sighting device.
Claim 1
1 . Packaging for an optical sighting device, the optical sighting device having a sighting axis along which a user looks to use the optical sighting device, the packaging comprising: a package defining an interior sized and shaped to fit the optical sighting device, the package including: a base comprising an optical sighting device mount configured to connect to and support the optical sighting device, the optical sighting device mount comprising a bed configured to support the optical sighting device when the optical sighting device is connected to the optical sighting device mount, the bed comprising imitation firearm structure configured to imitate a portion of a firearm; and a cover connected to the base and at least partially bounding the interior, the cover being configured to permit the user to view the optical sighting device through the cover and to look through the optical sighting device along the sighting axis. a package defining an interior sized and shaped to fit the optical sighting device, the package including: a base comprising an optical sighting device mount configured to connect to and support the optical sighting device, the optical sighting device mount comprising a bed configured to support the optical sighting device when the optical sighting device is connected to the optical sighting device mount, the bed comprising imitation firearm structure configured to imitate a portion of a firearm; and a cover connected to the base and at least partially bounding the interior, the cover being configured to permit the user to view the optical sighting device through the cover and to look through the optical sighting device along the sighting axis. a base comprising an optical sighting device mount configured to connect to and support the optical sighting device, the optical sighting device mount comprising a bed configured to support the optical sighting device when the optical sighting device is connected to the optical sighting device mount, the bed comprising imitation firearm structure configured to imitate a portion of a firearm; and a cover connected to the base and at least partially bounding the interior, the cover being configured to permit the user to view the optical sighting device through the cover and to look through the optical sighting device along the sighting axis.
Google Patents
https://patents.google.com/patent/US12468139
USPTO PDF
https://image-ppubs.uspto.gov/dirsearch-public/print/downloadPdf/12468139