US12467723 - Proportional-response conductive energy weapon and method

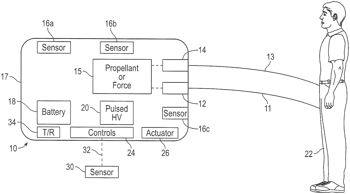
The patent describes a method for a conductive energy weapon (CEW) that utilizes sensors to assess the threat level of a situation before delivering an electric charge to a target via electrode wires. The electric energy applied is proportional to the assessed threat, allowing for a more measured response in various scenarios.
Claim 1
1 . A method of delivering an electric charge to a target with a CEW, the method comprising: using one or more sensors in communication with the CEW to determine a threat level of a situation; contacting the target with at least one electrode wire discharged from the CEW; and applying electric energy to the target along the at least one electrode wire so that electric energy flows between the CEW and the target that is proportional to the determined threat level of the situation. using one or more sensors in communication with the CEW to determine a threat level of a situation; contacting the target with at least one electrode wire discharged from the CEW; and applying electric energy to the target along the at least one electrode wire so that electric energy flows between the CEW and the target that is proportional to the determined threat level of the situation.
Google Patents
https://patents.google.com/patent/US12467723
USPTO PDF
https://image-ppubs.uspto.gov/dirsearch-public/print/downloadPdf/12467723