US12467716 - Dual detent apparatus for rocket

The patent describes a dual detent apparatus designed for rockets, featuring a detent with a protrusion that engages with the rocket and is supported by an elastic body to resist movement. Additionally, it includes an electrical safety device that prevents detent rotation, utilizing a solenoid and a micro switch for activation.
Claim 1
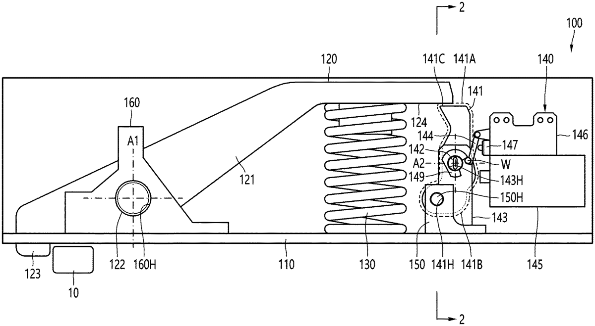
1 . A detent apparatus for a rocket, the detent apparatus comprising: a detent, the detent comprising: a first end portion; a second end portion opposite to the first end portion comprising a detent protrusion extending through a base of the detent apparatus and configured to engage with the rocket; and an extension extending between the first end portion and the second end portion, wherein the extension has a detent rotation axis that is positioned closer to the second end portion than to the first end portion, and the detent is configured to rotate around the detent rotation axis; a first elastic body configured to elastically support the first end portion of the detent and connected to the first end portion of the detent such that the detent protrusion is elastically biased past a back side of the base and movement of the detent protrusion away from the rocket is elastically resisted; and an electrical safety device configured to prevent rotation of the detent, the electrical safety device comprising: a hinge fixing frame having a hinge axis parallel to the detent rotation axis; a detent support configured to rotate around the hinge axis and support the detent; a hinge axis shaft arranged on the hinge axis and connected to the hinge fixing frame; a solenoid configured to rotate the detent support by pushing the detent support; and a micro switch activated when the detent support rotates. a detent, the detent comprising: a first end portion; a second end portion opposite to the first end portion comprising a detent protrusion extending through a base of the detent apparatus and configured to engage with the rocket; and an extension extending between the first end portion and the second end portion, wherein the extension has a detent rotation axis that is positioned closer to the second end portion than to the first end portion, and the detent is configured to rotate around the detent rotation axis; a first elastic body configured to elastically support the first end portion of the detent and connected to the first end portion of the detent such that the detent protrusion is elastically biased past a back side of the base and movement of the detent protrusion away from the rocket is elastically resisted; and an electrical safety device configured to prevent rotation of the detent, the electrical safety device comprising: a hinge fixing frame having a hinge axis parallel to the detent rotation axis; a detent support configured to rotate around the hinge axis and support the detent; a hinge axis shaft arranged on the hinge axis and connected to the hinge fixing frame; a solenoid configured to rotate the detent support by pushing the detent support; and a micro switch activated when the detent support rotates.
Google Patents
https://patents.google.com/patent/US12467716
USPTO PDF
https://image-ppubs.uspto.gov/dirsearch-public/print/downloadPdf/12467716