US12467712 - Cam adjuster for compound bow

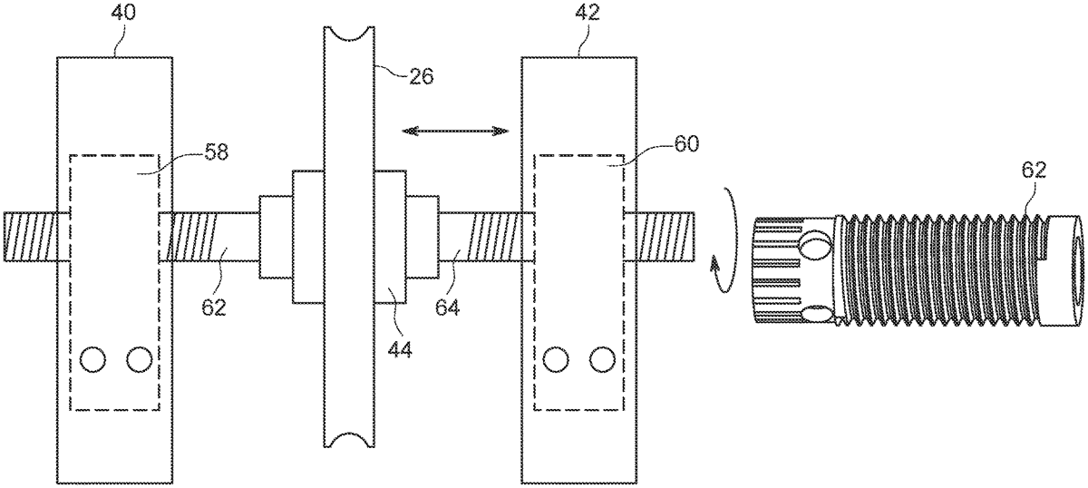
The patent describes a cam adjuster for a compound bow that allows for precise lateral adjustment of the cam position using threaded cam spacers secured to an axle. This design enhances the stability and functionality of the bow by enabling easy repositioning of the cam relative to the limb brackets.
Claim 1
1 . A compound bow comprising: a cam; a resilient limb having a space for mounting the cam; a first limb bracket and a second limb bracket connected to the resilient limb; an axle extending through the cam the axle having two opposing externally threaded ends; a first cam spacer and a second cam spacer, each having internal threads that are screwed onto respective externally threaded ends of the axle to secure the axle to the first cam spacer and the second cam spacer, a first end of the first cam spacer abutting a first side of the cam, and a second end of the second cam spacer abutting a second side of the cam, wherein the first cam spacer has a first external thread and the second cam spacer has a second external thread; and a third end of the first cam spacer extending through the first limb bracket, and a fourth end of the second cam spacer extending through the second limb bracket, whereby the cam is laterally moved within the space in the limb by shifting the first cam spacer and the second cam spacer with respect to the first limb bracket and the second limb bracket. a cam; a resilient limb having a space for mounting the cam; a first limb bracket and a second limb bracket connected to the resilient limb; an axle extending through the cam the axle having two opposing externally threaded ends; a first cam spacer and a second cam spacer, each having internal threads that are screwed onto respective externally threaded ends of the axle to secure the axle to the first cam spacer and the second cam spacer, a first end of the first cam spacer abutting a first side of the cam, and a second end of the second cam spacer abutting a second side of the cam, wherein the first cam spacer has a first external thread and the second cam spacer has a second external thread; and a third end of the first cam spacer extending through the first limb bracket, and a fourth end of the second cam spacer extending through the second limb bracket, whereby the cam is laterally moved within the space in the limb by shifting the first cam spacer and the second cam spacer with respect to the first limb bracket and the second limb bracket.
Google Patents
https://patents.google.com/patent/US12467712
USPTO PDF
https://image-ppubs.uspto.gov/dirsearch-public/print/downloadPdf/12467712