US12460905 - Adjustable rail mounting system

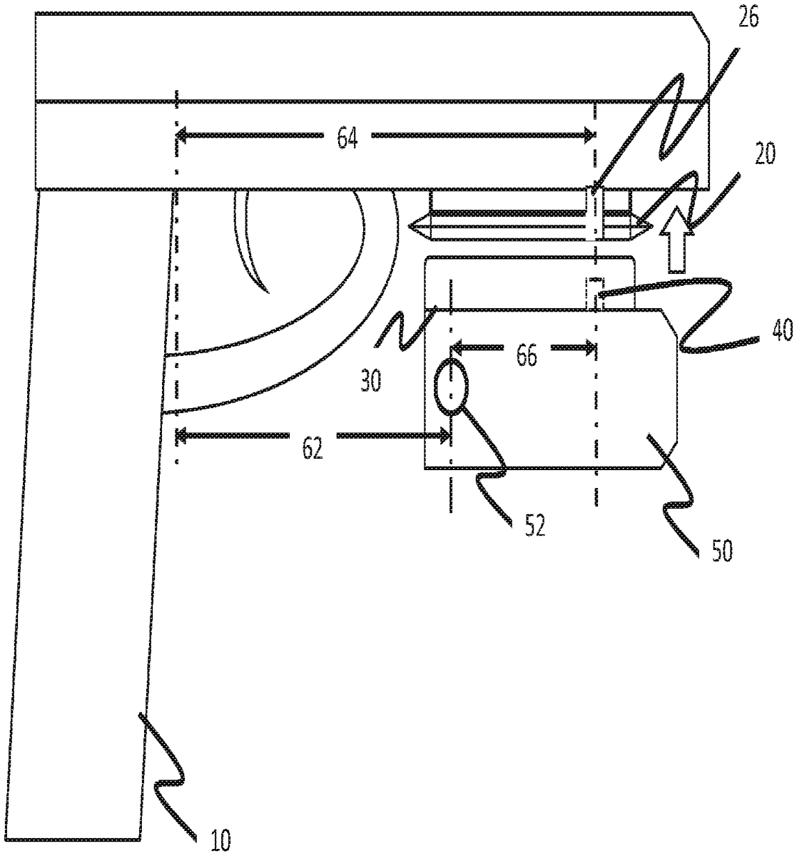
The patent describes an adjustable rail mounting system designed to securely attach to a rail with a recoil groove, featuring a rail positioner with a flexible stanchion and a clamping structure that maintains a tight fit between two body members. This system allows for easy installation and removal while accommodating variations in width between the body members.
Claim 1
1 . An adjustable rail mounting system, comprising: a rail positioner including a stanchion configured to engage with a recoil groove of a rail system; a first body member configured to receive a first portion of the rail positioner; a second body member configured to receive a second portion of the rail positioner; and a clamping structure configured to couple the first body member and the second body member at a width within a range of widths, wherein the rail positioner is adapted to flex to maintain a tight fit between the first body member and the second body member when the first body member and the second body member are separated by the width within the range of widths. a rail positioner including a stanchion configured to engage with a recoil groove of a rail system; a first body member configured to receive a first portion of the rail positioner; a second body member configured to receive a second portion of the rail positioner; and a clamping structure configured to couple the first body member and the second body member at a width within a range of widths, wherein the rail positioner is adapted to flex to maintain a tight fit between the first body member and the second body member when the first body member and the second body member are separated by the width within the range of widths. wherein the rail positioner is adapted to flex to maintain a tight fit between the first body member and the second body member when the first body member and the second body member are separated by the width within the range of widths.
Google Patents
https://patents.google.com/patent/US12460905
USPTO PDF
https://image-ppubs.uspto.gov/dirsearch-public/print/downloadPdf/12460905