US12460903 - Gunsight illumination system

The patent describes a weapon sight that features a light emission assembly with a blade designed to automatically adjust the illumination of an aiming indicium based on ambient light conditions or manual input. This system includes a photosensor, light emitters, and a microprocessor to control the light intensity and color, enhancing visibility for the user.
Claim 1
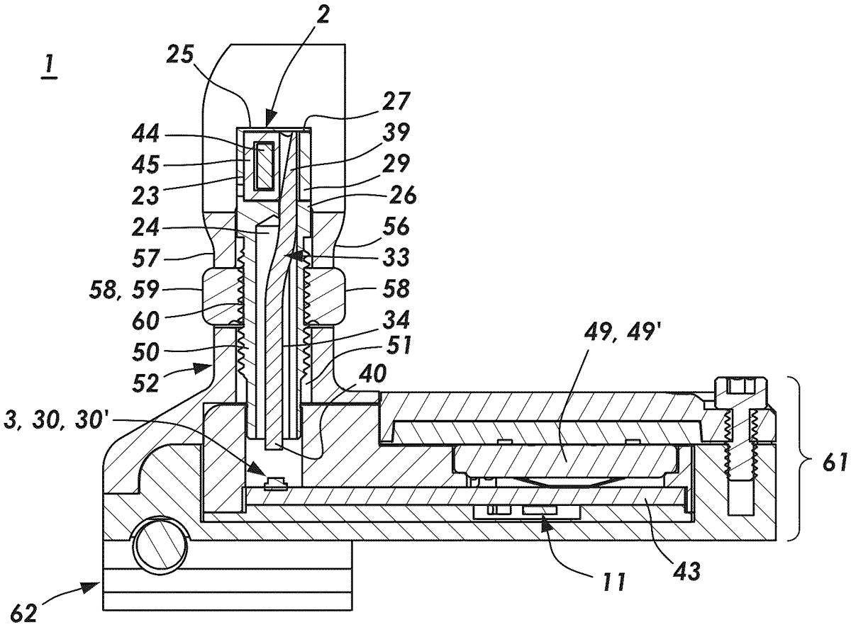
1 . A weapon sight, comprising: a blade including a blade external surface and a blade internal surface delimiting a hollow interior; a blade aperture disposed in a blade front face open between said blade internal surface and said blade external surface; a light pipe disposed within said hollow interior of said blade, said light pipe having a light pipe external surface disposed between a light pipe first end and a light pipe second end, said light pipe external surface disposed adjacent said blade aperture; one or more light emitters disposed proximate said light pipe second end, said one or more light emitters operable to emit light to illuminate said light pipe external surface; a photosensor positioned to sense ambient light, said photosensor operable to generate a photosensor signal which varies based on ambient light intensity; and a microprocessor including a light emitter driver electrically connected to said one or more light emitters, said light emitter driver operable to adjust light intensity or light color of said light emitted by said one or more light emitters based on said ambient light intensity. a blade including a blade external surface and a blade internal surface delimiting a hollow interior; a blade aperture disposed in a blade front face open between said blade internal surface and said blade external surface; a light pipe disposed within said hollow interior of said blade, said light pipe having a light pipe external surface disposed between a light pipe first end and a light pipe second end, said light pipe external surface disposed adjacent said blade aperture; one or more light emitters disposed proximate said light pipe second end, said one or more light emitters operable to emit light to illuminate said light pipe external surface; a photosensor positioned to sense ambient light, said photosensor operable to generate a photosensor signal which varies based on ambient light intensity; and a microprocessor including a light emitter driver electrically connected to said one or more light emitters, said light emitter driver operable to adjust light intensity or light color of said light emitted by said one or more light emitters based on said ambient light intensity.
Google Patents
https://patents.google.com/patent/US12460903
USPTO PDF
https://image-ppubs.uspto.gov/dirsearch-public/print/downloadPdf/12460903