US12460900 - Arrow stabilizer for archery airguns

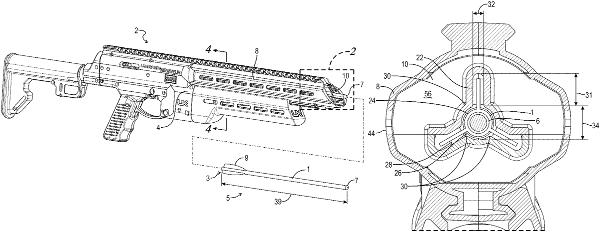
The patent describes an arrow stabilizer designed for archery airguns, featuring a non-cylindrical passage that supports the arrow shaft and fletching during launch. This stabilizer enhances arrow stability and guidance as it travels through the airgun, improving overall accuracy.
Claim 1
1 . An archery airgun, comprising: a receiver; a gas propulsion system; and an arrow stabilizer extending from the receiver, the arrow stabilizer including an elongated body defining a non-cylindrical passage extending longitudinally through at least a portion of the body, the passage including a central bore configured to closely receive and support a shaft of a fletched arrow as the arrow travels through the passage when launched by the archery airgun, and a plurality of radial slots extending along the central bore, each radial slot configured to receive a respective fletch of the arrow. a receiver; a gas propulsion system; and an arrow stabilizer extending from the receiver, the arrow stabilizer including an elongated body defining a non-cylindrical passage extending longitudinally through at least a portion of the body, the passage including a central bore configured to closely receive and support a shaft of a fletched arrow as the arrow travels through the passage when launched by the archery airgun, and a plurality of radial slots extending along the central bore, each radial slot configured to receive a respective fletch of the arrow.
Google Patents
https://patents.google.com/patent/US12460900
USPTO PDF
https://image-ppubs.uspto.gov/dirsearch-public/print/downloadPdf/12460900