US12459461 - Lap pretensioner including a structure to limit gas emissions

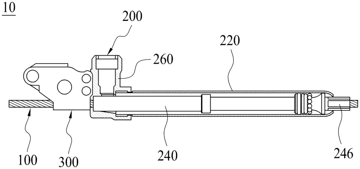
The invention describes a lap pretensioner designed to limit gas emissions, which is activated by vehicle impact to pull anchors or buckles using a fluid pressure mechanism. It features a variable interior space that adjusts according to the movement of the connecting unit, allowing fluid to flow or leak based on pressure thresholds.
Claim 1
1 . A lap pretensioner including a structure to limit gas emissions that is actuated by an impact on the vehicle to move the vehicle’s anchors or buckles, comprising: a connecting unit connected with the anchor or the buckle; and a pressure unit having an interior space formed therein into which a portion of the connecting unit is inserted, actuated by an impact on the vehicle to inject a fluid into the interior space, and moving a portion of the connecting unit in one direction under pressure of the fluid received therein to pull the anchor or the buckle, wherein the pressure unit is provided inside the interior space, and configured to allow fluid to move along the inside of a variable space that varies in response to the movement of the connecting unit, wherein the pressure unit is configured that the fluid moves along the variable space when the pressure is below a predetermined value, and leaks from the variable space when the predetermined value is exceeded, and wherein the pressure unit includes a case part elongately formed to allow insertion and movement of one end of the connection unit; a moving part having one side fixed to one side of the interior space inside the case part, and the other side moved to the other side of the interior space upon movement of the connection unit to form the variable space; and an actuation part connecting to the interior space of the case part, and actuated in response to an impact on the vehicle, and injecting fluid toward the interior space of the case part, wherein the moving part is formed by a multi-stage telescopic hollow tube connected in series, and has variable length. a connecting unit connected with the anchor or the buckle; and a pressure unit having an interior space formed therein into which a portion of the connecting unit is inserted, actuated by an impact on the vehicle to inject a fluid into the interior space, and moving a portion of the connecting unit in one direction under pressure of the fluid received therein to pull the anchor or the buckle, wherein the pressure unit is provided inside the interior space, and configured to allow fluid to move along the inside of a variable space that varies in response to the movement of the connecting unit, wherein the pressure unit is configured that the fluid moves along the variable space when the pressure is below a predetermined value, and leaks from the variable space when the predetermined value is exceeded, and wherein the pressure unit includes a case part elongately formed to allow insertion and movement of one end of the connection unit; a moving part having one side fixed to one side of the interior space inside the case part, and the other side moved to the other side of the interior space upon movement of the connection unit to form the variable space; and an actuation part connecting to the interior space of the case part, and actuated in response to an impact on the vehicle, and injecting fluid toward the interior space of the case part, wherein the moving part is formed by a multi-stage telescopic hollow tube connected in series, and has variable length. a case part elongately formed to allow insertion and movement of one end of the connection unit; a moving part having one side fixed to one side of the interior space inside the case part, and the other side moved to the other side of the interior space upon movement of the connection unit to form the variable space; and an actuation part connecting to the interior space of the case part, and actuated in response to an impact on the vehicle, and injecting fluid toward the interior space of the case part, wherein the moving part is formed by a multi-stage telescopic hollow tube connected in series, and has variable length.
Google Patents
https://patents.google.com/patent/US12459461
USPTO PDF
https://image-ppubs.uspto.gov/dirsearch-public/print/downloadPdf/12459461