US12458080 - Ballistic vest

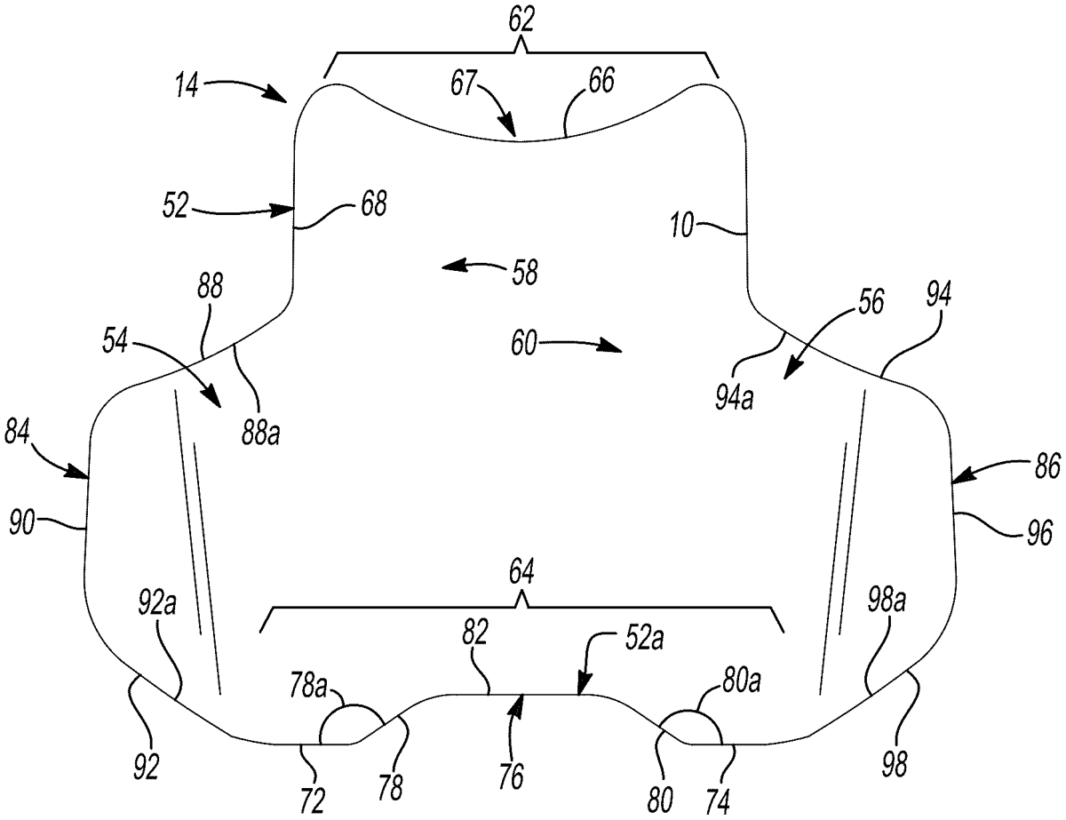
The patent describes a ballistic vest featuring a protective shell and an insert designed with a main body that includes lateral sides and a uniquely shaped bottom edge with convex transitions. This design aims to enhance the fit and comfort of the vest while providing effective protection.
Claim 1
1 . A protective garment comprising: a shell; and an insert disposed within the shell, the insert including a main body defining a first lateral side, a second lateral side opposite the first lateral side, and a bottom edge extending between the first lateral side and the second lateral side, the bottom edge including a first lateral portion extending from the first lateral side, a second lateral portion extending from the second lateral side, and an intermediate portion defining a recess extending from a first end at the first lateral portion to a second end at the second lateral portion, the first end defining a first convex transition with the first lateral portion and the second end defining a second convex transition with the second lateral portion, wherein the first end of the intermediate portion defines a first arcuate transition with the first lateral portion and the second end of the intermediate portion defines a second arcuate transition with the second lateral portion. a shell; and an insert disposed within the shell, the insert including a main body defining a first lateral side, a second lateral side opposite the first lateral side, and a bottom edge extending between the first lateral side and the second lateral side, the bottom edge including a first lateral portion extending from the first lateral side, a second lateral portion extending from the second lateral side, and an intermediate portion defining a recess extending from a first end at the first lateral portion to a second end at the second lateral portion, the first end defining a first convex transition with the first lateral portion and the second end defining a second convex transition with the second lateral portion, wherein the first end of the intermediate portion defines a first arcuate transition with the first lateral portion and the second end of the intermediate portion defines a second arcuate transition with the second lateral portion.
Google Patents
https://patents.google.com/patent/US12458080
USPTO PDF
https://image-ppubs.uspto.gov/dirsearch-public/print/downloadPdf/12458080