US12455130 - Firearm magazine with molded seam

firearmmagazineammunition
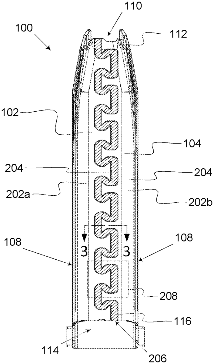
The patent describes a firearm magazine constructed from a sheet material using a two-stage process that includes shaping the material into a tubular body and then molding a filler to join the edges. The design features retainers that enhance the structural integrity of the magazine by distributing forces along the seam, rather than relying solely on the filler material for strength.
Claim 1
- A firearm magazine, said firearm magazine comprising: a body section fabricated from a sheet material, said body section being substantially tubular, said body section having a top end and a bottom end, said body section having a wall having two interior edges, each of said interior edges having a contour, said interior edges defining a gap that extends from said top end to said bottom end and defining a longitudinal axis, said interior edges defining a retainer such that said interior edges are nonlinear, said retainer configured to resist a separating force having a component that is perpendicular to said longitudinal axis, said wall having an interior face and an exterior face; and a seam filling said gap, said seam filling in around said contours, said seam fixedly connecting said interior edges, said seam including at least one retainer, said seam fabricated from a second material, said second material being different from said sheet material, said second material having a lower melting temperature than said sheet material. a body section fabricated from a sheet material, said body section being substantially tubular, said body section having a top end and a bottom end, said body section having a wall having two interior edges, each of said interior edges having a contour, said interior edges defining a gap that extends from said top end to said bottom end and defining a longitudinal axis, said interior edges defining a retainer such that said interior edges are nonlinear, said retainer configured to resist a separating force having a component that is perpendicular to said longitudinal axis, said wall having an interior face and an exterior face; and a seam filling said gap, said seam filling in around said contours, said seam fixedly connecting said interior edges, said seam including at least one retainer, said seam fabricated from a second material, said second material being different from said sheet material, said second material having a lower melting temperature than said sheet material.
Google Patents
https://patents.google.com/patent/US12455130
USPTO PDF
https://image-ppubs.uspto.gov/dirsearch-public/print/downloadPdf/12455130