US12435957 - Dart game device

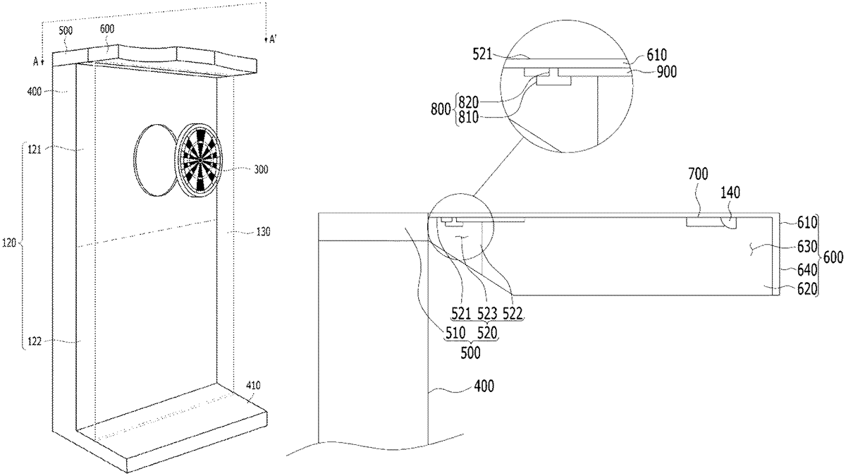
The patent describes a dart game apparatus featuring a body part with a dart target, a support unit with a coupling and extension unit, and a rotatable lid unit attached via hinges. Additionally, the support unit includes fixation units, while the lid has latch units designed to secure the lid in place.
Claim 1
- A dart game apparatus comprising: a body part in which a dart target is installed on a front surface; a support unit including a coupling unit coupled to an upper side of the body part and an extension unit formed to extend toward a front surface of the coupling unit; and a lid unit rotatably coupled to the support unit through at least one hinge, wherein the support unit further includes: at least one fixation unit provided on a lower surface of the extension unit, and the lid unit includes at least one latch unit rotatably provided on a lower surface of the lid unit and having a seating groove into which the at least one fixation unit is inserted. a body part in which a dart target is installed on a front surface; a support unit including a coupling unit coupled to an upper side of the body part and an extension unit formed to extend toward a front surface of the coupling unit; and a lid unit rotatably coupled to the support unit through at least one hinge, wherein the support unit further includes: at least one fixation unit provided on a lower surface of the extension unit, and the lid unit includes at least one latch unit rotatably provided on a lower surface of the lid unit and having a seating groove into which the at least one fixation unit is inserted. at least one fixation unit provided on a lower surface of the extension unit, and the lid unit includes at least one latch unit rotatably provided on a lower surface of the lid unit and having a seating groove into which the at least one fixation unit is inserted.
Google Patents
https://patents.google.com/patent/US12435957
USPTO PDF
https://image-ppubs.uspto.gov/dirsearch-public/print/downloadPdf/12435957