US12429310 - Reactive protective armor

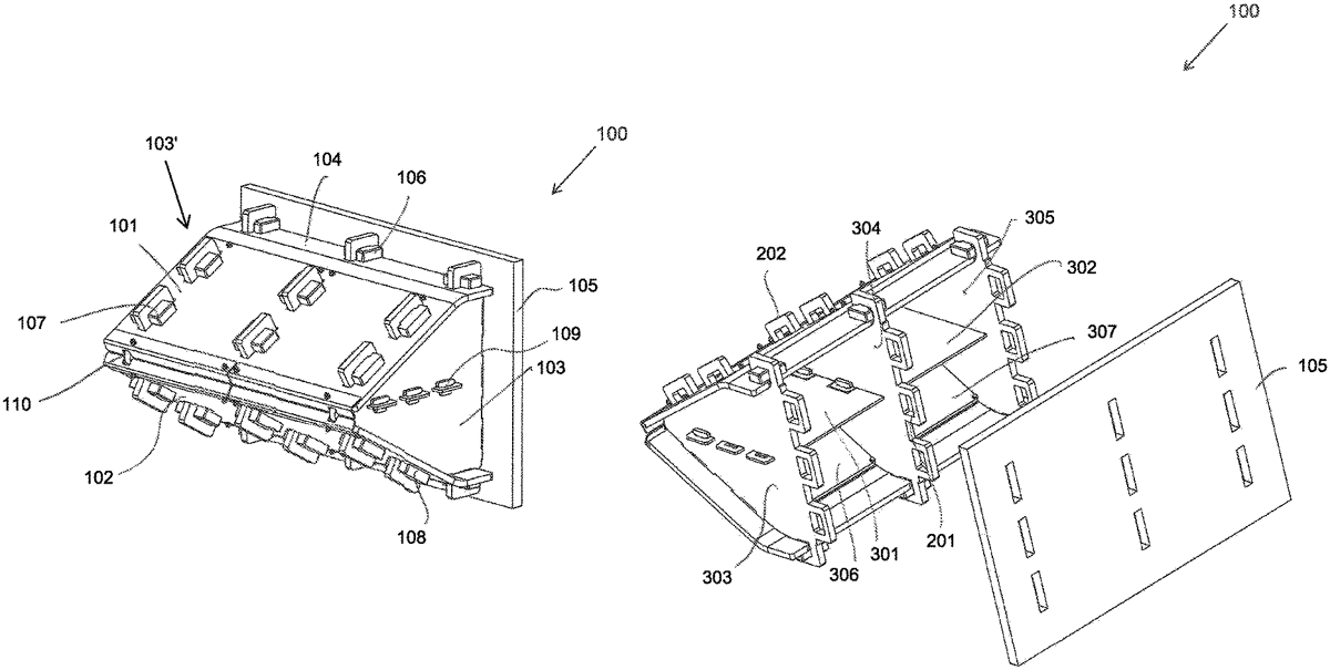
The patent describes a reactive armor system designed to counter threats, featuring an outer shell, an inner reactive plate, and explosive material that activates to displace the reactive plate. This innovative design includes multiple stacked reactive plates with additional explosive material interspersed, enhancing its defensive capabilities.
Claim 1
- A reactive armor for defeating threats, comprising an outer shell having outer and inner surfaces, an inner reactive plate, and explosive material disposed between said inner surface and said reactive plate, wherein said reactive plate is configured to be displaced away from said inner surface upon activation of said explosive material, comprising a plurality of stacked reactive plates and separated with additional explosive material between them.
Google Patents
https://patents.google.com/patent/US12429310
USPTO PDF
https://image-ppubs.uspto.gov/dirsearch-public/print/downloadPdf/12429310