US12429306 - Engagement lock for tool-less re-zero adjustment knob

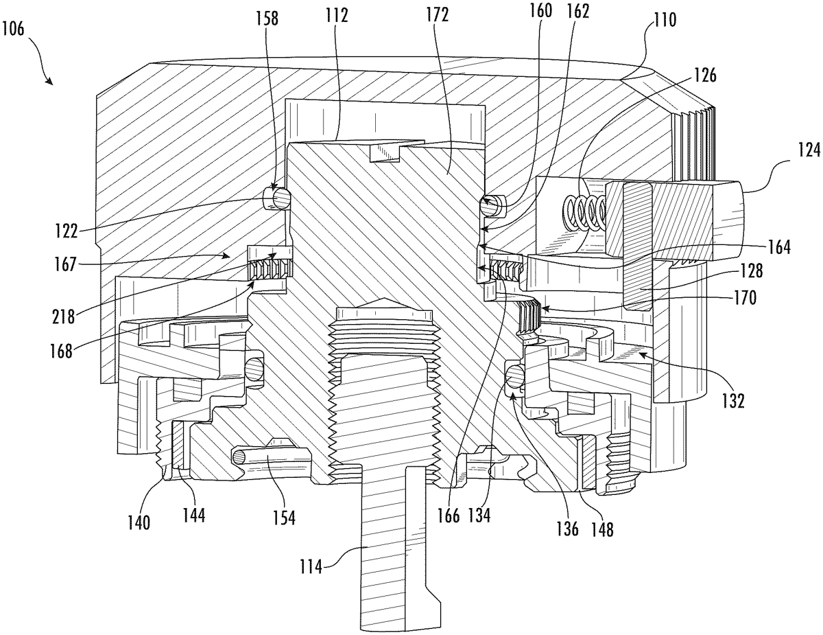
The patent describes a turret assembly for optical devices that includes first and second rotatable parts, allowing for co-rotation to adjust settings. It features a user interface with an engagement lock that can be set to locked or unlocked states, controlling the actuation of the first user interface.
Claim 1
- A turret assembly to change an optic device setting, the turret assembly comprising: first and second rotatable parts to rotate together as a unit about an axis of rotation to change the optic device setting; a first user interface actuatable to select a mode of operation of a plurality of different modes of operation, the plurality of different modes of operation including an engaged mode of operation when the first rotatable part is engaged with the second rotatable part to enable co-rotation and a non-engaged mode of operation when the first rotatable part is rotatable relative to the second rotatable part; the turret assembly further including an engagement lock settable in a plurality of states including: a locked state that imparts a restriction on actuation of the first user interface; and an unlocked state that releases the restriction; wherein the engagement lock comprises a second user interface comprising a button or other lock release actuatable to select between the locked and unlocked states. first and second rotatable parts to rotate together as a unit about an axis of rotation to change the optic device setting; a first user interface actuatable to select a mode of operation of a plurality of different modes of operation, the plurality of different modes of operation including an engaged mode of operation when the first rotatable part is engaged with the second rotatable part to enable co-rotation and a non-engaged mode of operation when the first rotatable part is rotatable relative to the second rotatable part; the turret assembly further including an engagement lock settable in a plurality of states including: a locked state that imparts a restriction on actuation of the first user interface; and an unlocked state that releases the restriction; a locked state that imparts a restriction on actuation of the first user interface; and an unlocked state that releases the restriction; wherein the engagement lock comprises a second user interface comprising a button or other lock release actuatable to select between the locked and unlocked states.
Google Patents
https://patents.google.com/patent/US12429306
USPTO PDF
https://image-ppubs.uspto.gov/dirsearch-public/print/downloadPdf/12429306