US12422226 - Ballistic resistant panel edge enhanced integrity

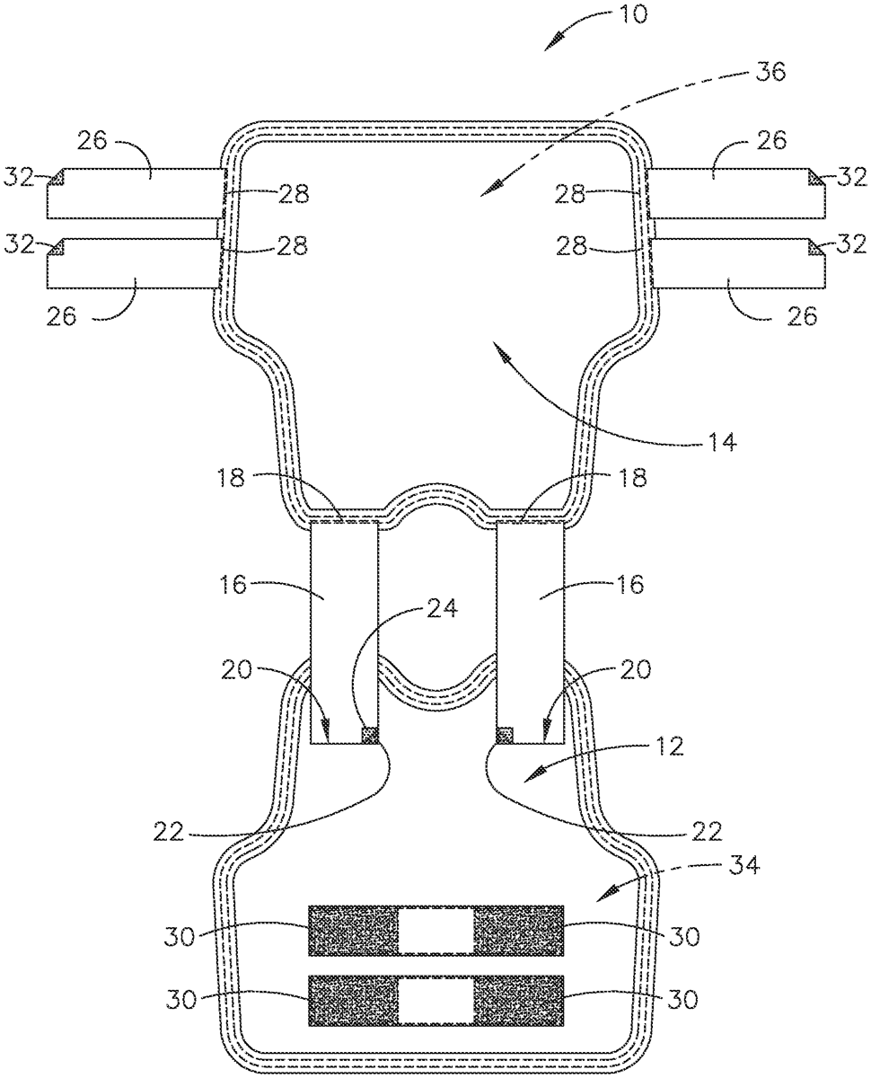
The patent describes a ballistic resistant panel assembly featuring multiple plies and a binding layer designed to enhance edge integrity. The binding layer includes a unique configuration of portions and stitches that secure the plies while maintaining spacing from the panel’s peripheral edges.
Claim 1
- A ballistic resistant panel assembly, comprising: a plurality of ballistic resistant plies positioned in a stack; a binding layer, wherein: a first portion of the binding layer extends along and overlies a first ballistic resistant ply of the stack; a second portion of the binding layer extends from the first portion of the binding layer and extends along peripheral edges of the plurality of the ballistic resistant plies in the stack, wherein the second portion has a length positioned and extending only between shoulder portions of a front ballistic resistant panel assembly; and a third portion of the binding layer extends from the second portion of the binding layer and extends along a last ballistic resistant ply of the stack such that the last ballistic resistant ply is positioned between the first ballistic resistant ply and the third portion of the binding layer; and a plurality of stitches extend through the first portion and the third portion of the binding layer and through the first and last ballistic resistant plies, such that the plurality of stitches form a configuration which comprises rows of stitches which extend spaced apart from one another and spaced apart from a peripheral stack edge of the plurality of ballistic resistant plies. a plurality of ballistic resistant plies positioned in a stack; a binding layer, wherein: a first portion of the binding layer extends along and overlies a first ballistic resistant ply of the stack; a second portion of the binding layer extends from the first portion of the binding layer and extends along peripheral edges of the plurality of the ballistic resistant plies in the stack, wherein the second portion has a length positioned and extending only between shoulder portions of a front ballistic resistant panel assembly; and a third portion of the binding layer extends from the second portion of the binding layer and extends along a last ballistic resistant ply of the stack such that the last ballistic resistant ply is positioned between the first ballistic resistant ply and the third portion of the binding layer; and a plurality of stitches extend through the first portion and the third portion of the binding layer and through the first and last ballistic resistant plies, such that the plurality of stitches form a configuration which comprises rows of stitches which extend spaced apart from one another and spaced apart from a peripheral stack edge of the plurality of ballistic resistant plies.
Google Patents
https://patents.google.com/patent/US12422226
USPTO PDF
https://image-ppubs.uspto.gov/dirsearch-public/print/downloadPdf/12422226