US12385728 - Detonator for a perforating gun assembly

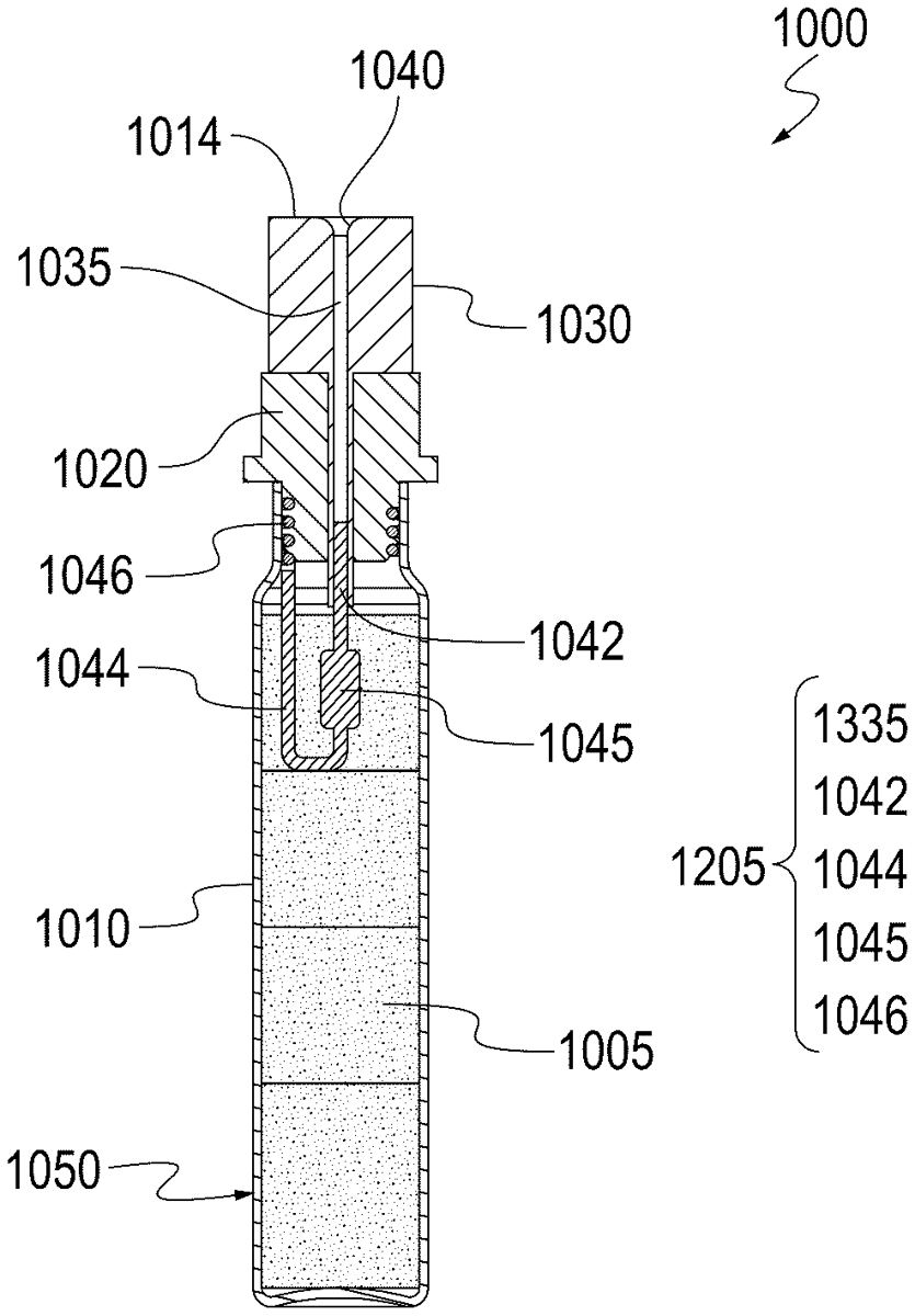
The patent describes a detonator designed for use in a perforating gun assembly, featuring a tubular body that houses an explosive charge and is equipped with a conductive post for electrical communication with an addressable switch. The cartridge is specifically engineered to fit into a compartment of the charge tube, ensuring proper contact with hot and ground terminals for activation.
Claim 1
- A detonator for a perforating gun, the perforating gun having a charge tube holding a plurality of charges and a compartment, and the detonator comprising: a cartridge comprising: a tubular body having a first end, and a second end opposite the first end; a conductive post at the first end of the tubular body, with the conductive post being configured to be placed in electrical communication with an addressable switch along a perforating gun assembly; and a lower bore within the tubular body below the conductive post and housing an explosive charge material; an initiator residing within the cartridge, wherein the initiator comprises: a first resistor residing within the cartridge; and a ground wire extending from the first resistor and connected to a wall of the tubular body; and wherein: the cartridge is configured to be placed within the compartment of the charge tube; the compartment comprises a hot terminal and a ground terminal; and placement of the cartridge into the compartment causes (i) the conductive post to be in contact with the hot terminal, (ii) the ground terminal to be in contact with the wall of the tubular body proximate the lower bore, and (ii) the conductive post to be in electrical communication with the addressable switch through the hot terminal. a cartridge comprising: a tubular body having a first end, and a second end opposite the first end; a conductive post at the first end of the tubular body, with the conductive post being configured to be placed in electrical communication with an addressable switch along a perforating gun assembly; and a lower bore within the tubular body below the conductive post and housing an explosive charge material; a tubular body having a first end, and a second end opposite the first end; a conductive post at the first end of the tubular body, with the conductive post being configured to be placed in electrical communication with an addressable switch along a perforating gun assembly; and a lower bore within the tubular body below the conductive post and housing an explosive charge material; an initiator residing within the cartridge, wherein the initiator comprises: a first resistor residing within the cartridge; and a ground wire extending from the first resistor and connected to a wall of the tubular body; a first resistor residing within the cartridge; and a ground wire extending from the first resistor and connected to a wall of the tubular body; and wherein: the cartridge is configured to be placed within the compartment of the charge tube; the compartment comprises a hot terminal and a ground terminal; and placement of the cartridge into the compartment causes (i) the conductive post to be in contact with the hot terminal, (ii) the ground terminal to be in contact with the wall of the tubular body proximate the lower bore, and (ii) the conductive post to be in electrical communication with the addressable switch through the hot terminal.
Google Patents
https://patents.google.com/patent/US12385728
USPTO PDF
https://image-ppubs.uspto.gov/dirsearch-public/print/downloadPdf/12385728