US12385722 - Methods and systems associated with a self-defense device

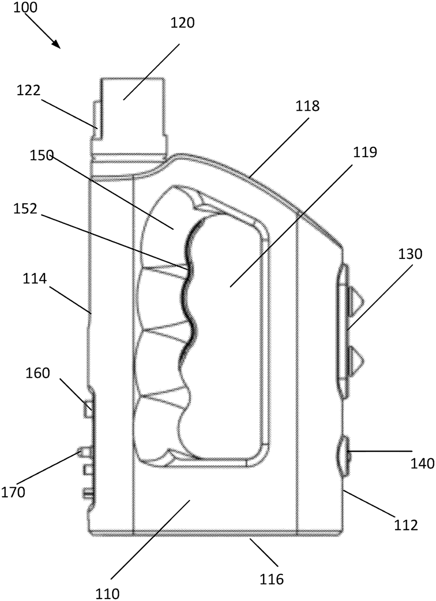
The patent describes a self-defense device featuring a housing designed with varying heights, an inflammatory agent nozzle, and electroshock prongs for defensive use. Activation of the inflammatory agent and electroshock prongs is achieved through distinct buttons that require different directional forces.
Claim 1
- A self-defense device comprising: a housing with a rear surface, upper surface, and front surface, a first height of the rear surface being longer than a second height of the front surface, the upper surface including a first portion and a second portion, wherein the second portion continually decreases a housing height; an inflammatory agent with a nozzle positioned on the upper surface, the inflammatory agent being positioned more proximate to the rear surface than the front surface, wherein the inflammatory agent is activated via a first button receiving a first force in a first direction in parallel to a central axis of the self-defense device; and electroshock prongs positioned on the front surface, the electroshock prongs being activated via a first trigger receiving a second force in second direction, the first direction being orthogonal to the second direction. a housing with a rear surface, upper surface, and front surface, a first height of the rear surface being longer than a second height of the front surface, the upper surface including a first portion and a second portion, wherein the second portion continually decreases a housing height; an inflammatory agent with a nozzle positioned on the upper surface, the inflammatory agent being positioned more proximate to the rear surface than the front surface, wherein the inflammatory agent is activated via a first button receiving a first force in a first direction in parallel to a central axis of the self-defense device; and electroshock prongs positioned on the front surface, the electroshock prongs being activated via a first trigger receiving a second force in second direction, the first direction being orthogonal to the second direction.
Google Patents
https://patents.google.com/patent/US12385722
USPTO PDF
https://image-ppubs.uspto.gov/dirsearch-public/print/downloadPdf/12385722