US12372339 - Projectile alignment and securement device

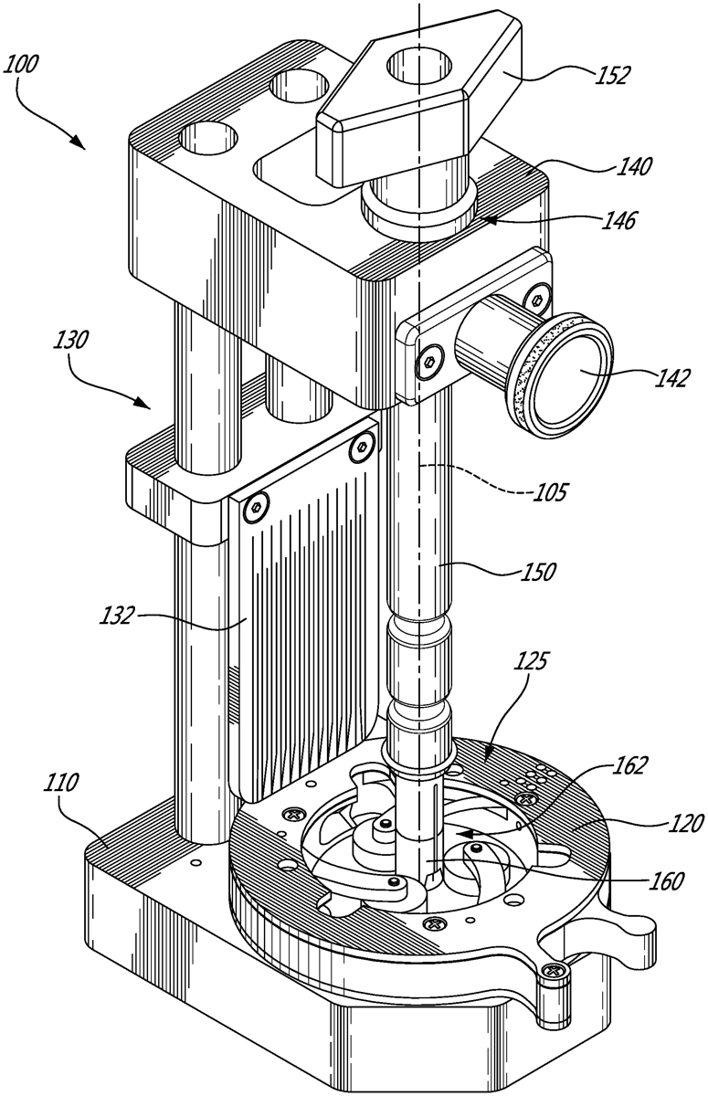
The patent describes a device designed to align and secure a projectile using a self-centering mechanism, a base with a receptacle, and a rod member that allows for inspection. It includes a mounting adapter that retains the projectile and connects to an inspection device for further evaluation.
Claim 1
- A device for aligning and securing a projectile, comprising: a base defining a receptacle for receiving the projectile and comprising a self-centering mechanism for aligning a longitudinal axis of the projectile with a reference axis; an upstanding support projecting upwardly from the base; a head member extending from the upstanding support, disposed vertically above the base, and having defined therein an opening aligned with the reference axis; a rod member slidably mounted in the opening, such that a longitudinal axis of the rod member is aligned with the reference axis; and a mounting adapter having a first end configured for adhesively retaining the projectile and a second end defining a coupling mechanism selectively mateable with a distal end of the rod member and with an inspection device used for performing inspection of the projectile. a base defining a receptacle for receiving the projectile and comprising a self-centering mechanism for aligning a longitudinal axis of the projectile with a reference axis; an upstanding support projecting upwardly from the base; a head member extending from the upstanding support, disposed vertically above the base, and having defined therein an opening aligned with the reference axis; a rod member slidably mounted in the opening, such that a longitudinal axis of the rod member is aligned with the reference axis; and a mounting adapter having a first end configured for adhesively retaining the projectile and a second end defining a coupling mechanism selectively mateable with a distal end of the rod member and with an inspection device used for performing inspection of the projectile.
Google Patents
https://patents.google.com/patent/US12372339
USPTO PDF
https://image-ppubs.uspto.gov/dirsearch-public/print/downloadPdf/12372339