US12372326 - Firearm accessory

firearmshotgunaccessory
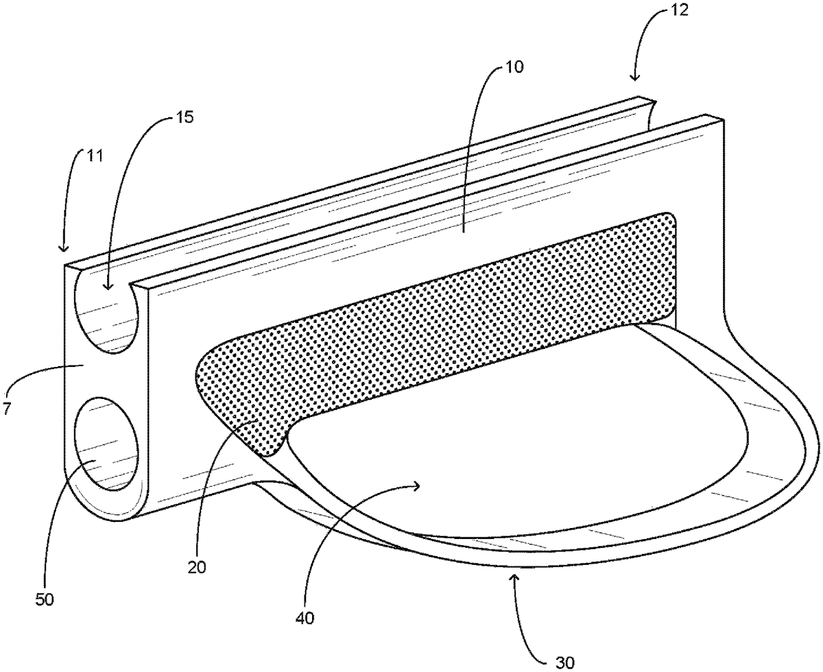
The patent describes a shotgun pump handle that is designed to be slidably attached to a magazine tube, featuring a body made from aluminum and a replaceable grip member made of foam rubber. Additionally, the handle includes an integrally formed loop member that creates a void for a human hand, enhancing usability and comfort during operation.
Claim 1
- A shotgun pump handle configured to be slidably coupled to a magazine tube of a shotgun wherein the shotgun pump handle comprises: a body, said body having a first end and a second end, said body having an upper surface and a lower surface, said body having a front surface at said first end of the body, said body having a channel formed in the upper surface, said channel extending from the first end to the second end of the body; a grip member, said grip member being releasably secured to the lower surface of said body, said grip member being manufactured rubber, said grip member having a passage, said passage operable to facilitate releasable securing of the grip member to said body; and a loop member, said loop member having a first end and a second end, said first end of said loop member being integrally formed with said lower surface of said body proximate said second end of said body, said second end of said loop member being integrally formed with said lower surface of said body proximate the first end of said body, said loop member being arcuate in shape creating a void, said void being of suitable size to accommodate a human hand therein, said loop member having a rear portion. a body, said body having a first end and a second end, said body having an upper surface and a lower surface, said body having a front surface at said first end of the body, said body having a channel formed in the upper surface, said channel extending from the first end to the second end of the body; a grip member, said grip member being releasably secured to the lower surface of said body, said grip member being manufactured rubber, said grip member having a passage, said passage operable to facilitate releasable securing of the grip member to said body; and a loop member, said loop member having a first end and a second end, said first end of said loop member being integrally formed with said lower surface of said body proximate said second end of said body, said second end of said loop member being integrally formed with said lower surface of said body proximate the first end of said body, said loop member being arcuate in shape creating a void, said void being of suitable size to accommodate a human hand therein, said loop member having a rear portion.
Google Patents
https://patents.google.com/patent/US12372326
USPTO PDF
https://image-ppubs.uspto.gov/dirsearch-public/print/downloadPdf/12372326