US12359894 - Using electromagnetically reinforced compressed ferromagnetic powder

This patent describes a dynamic armor system for tanks that utilizes electromagnetically reinforced compressed ferromagnetic powder to enhance protection against anti-tank projectiles. The armor features a multi-layer structure that includes high-temperature silicone, geometric distributions of ferromagnetic powder, and an explosive layer activated by sensors to improve its defensive capabilities.
Claim 1
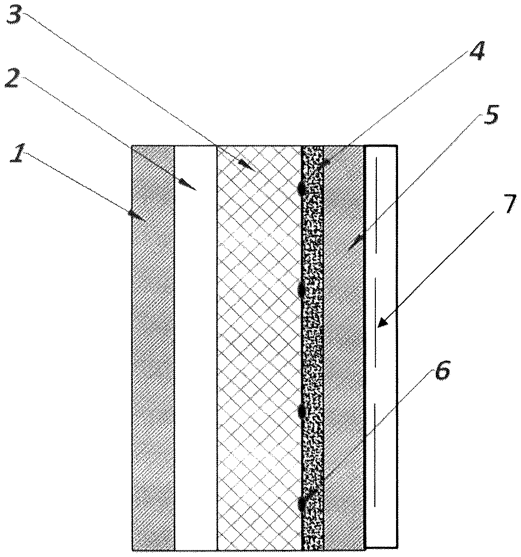
- Dynamic armor for tanks and battle vehicles using electromagnetically reinforced compressed ferromagnetic powder, comprising: an outer solid passive armor plate and an inner solid passive armor plate; electromagnetic coils; a layer containing compressed ferromagnetic powder; and a layer of high-temperature silicone with a thickness proportional to the expected threat, located between the outer solid passive armor plate and the compressed ferromagnetic powder; wherein the layer containing compressed ferromagnetic powder is defined by a distribution of ferromagnetic powder contained in pellets, cubes, rectangular parallelepipeds, or other geometric volumes of polymeric material, or alternatively, the layer containing compressed ferromagnetic powder is defined by a spatial network with cubic, conical, or spherical divided distribution volumes with walls made of polymeric material with viscoelasticity; wherein the layer containing the ferromagnetic powder is compressed between the outer solid passive armor plate and the inner solid passive armor plate. an outer solid passive armor plate and an inner solid passive armor plate; electromagnetic coils; a layer containing compressed ferromagnetic powder; and a layer of high-temperature silicone with a thickness proportional to the expected threat, located between the outer solid passive armor plate and the compressed ferromagnetic powder; wherein the layer containing compressed ferromagnetic powder is defined by a distribution of ferromagnetic powder contained in pellets, cubes, rectangular parallelepipeds, or other geometric volumes of polymeric material, or alternatively, the layer containing compressed ferromagnetic powder is defined by a spatial network with cubic, conical, or spherical divided distribution volumes with walls made of polymeric material with viscoelasticity; wherein the layer containing the ferromagnetic powder is compressed between the outer solid passive armor plate and the inner solid passive armor plate.
Google Patents
https://patents.google.com/patent/US12359894
USPTO PDF
https://image-ppubs.uspto.gov/dirsearch-public/print/downloadPdf/12359894