US12352549 - Non-pyrotechnic diversionary device

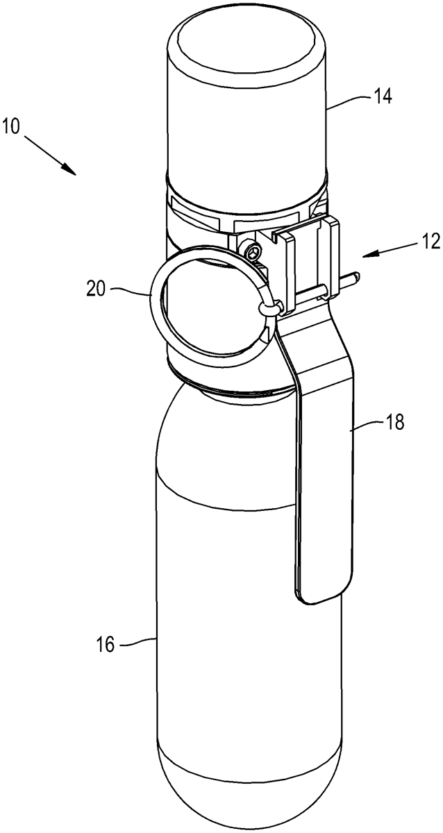
The patent describes a non-pyrotechnic diversionary device that utilizes a compressed gas to create an acoustic effect after a delay triggered by a mechanism. The device features a dual-envelope payload designed to ensure a controlled release of gas, enhancing safety by using non-flammable materials.
Claim 1
- A diversionary device, comprising: a triggering mechanism; a payload including a first and a second envelope, the first envelope being inside the second envelope, the second envelope having a predetermined failure pattern; and a compressed gas container containing a compressed gas, the compressed gas being non-flammable, the triggering mechanism being coupled to the compressed gas container, the triggering mechanism conveying at least some of the gas from the compressed gas container to the first envelope after a predetermined delay after the triggering mechanism is activated, the gas conveyed to the payload causing the payload to produce a diversionary acoustic effect. a triggering mechanism; a payload including a first and a second envelope, the first envelope being inside the second envelope, the second envelope having a predetermined failure pattern; and a compressed gas container containing a compressed gas, the compressed gas being non-flammable, the triggering mechanism being coupled to the compressed gas container, the triggering mechanism conveying at least some of the gas from the compressed gas container to the first envelope after a predetermined delay after the triggering mechanism is activated, the gas conveyed to the payload causing the payload to produce a diversionary acoustic effect.
Google Patents
https://patents.google.com/patent/US12352549
USPTO PDF
https://image-ppubs.uspto.gov/dirsearch-public/print/downloadPdf/12352549