US12351149 - Military vehicle

This patent describes a military vehicle featuring a passenger capsule and modular front and rear assemblies, each equipped with gas spring suspensions and dampers. The vehicle’s control system is designed to monitor and adjust the ride height in response to changes in load.
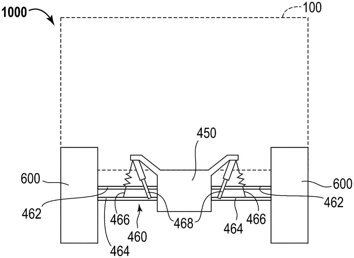
Claim 1
- A military vehicle comprising: a passenger capsule; a front module including a front frame assembly coupled to a front end of the passenger capsule, a front axle, and a front suspension positioned between the front axle and the front frame assembly; a rear module including a rear frame assembly coupled to a rear end of the passenger capsule, a rear axle, and a rear suspension positioned between the rear axle and the rear frame assembly, wherein each of the front suspension and the rear suspension includes a pair of gas springs and a pair of dampers; a transaxle coupled to the front axle and the rear axle, wherein a plurality of components of the rear suspension are directly coupled to the transaxle; and a suspension control system configured to: monitor a ride height of the military vehicle; and control the pair of gas springs of the front suspension and the rear suspension to adjust the ride height as load is added to or removed from the military vehicle. a passenger capsule; a front module including a front frame assembly coupled to a front end of the passenger capsule, a front axle, and a front suspension positioned between the front axle and the front frame assembly; a rear module including a rear frame assembly coupled to a rear end of the passenger capsule, a rear axle, and a rear suspension positioned between the rear axle and the rear frame assembly, wherein each of the front suspension and the rear suspension includes a pair of gas springs and a pair of dampers; a transaxle coupled to the front axle and the rear axle, wherein a plurality of components of the rear suspension are directly coupled to the transaxle; and a suspension control system configured to: monitor a ride height of the military vehicle; and control the pair of gas springs of the front suspension and the rear suspension to adjust the ride height as load is added to or removed from the military vehicle. monitor a ride height of the military vehicle; and control the pair of gas springs of the front suspension and the rear suspension to adjust the ride height as load is added to or removed from the military vehicle.
Google Patents
https://patents.google.com/patent/US12351149
USPTO PDF
https://image-ppubs.uspto.gov/dirsearch-public/print/downloadPdf/12351149