US12341604 - Counter measure effector with smart sight

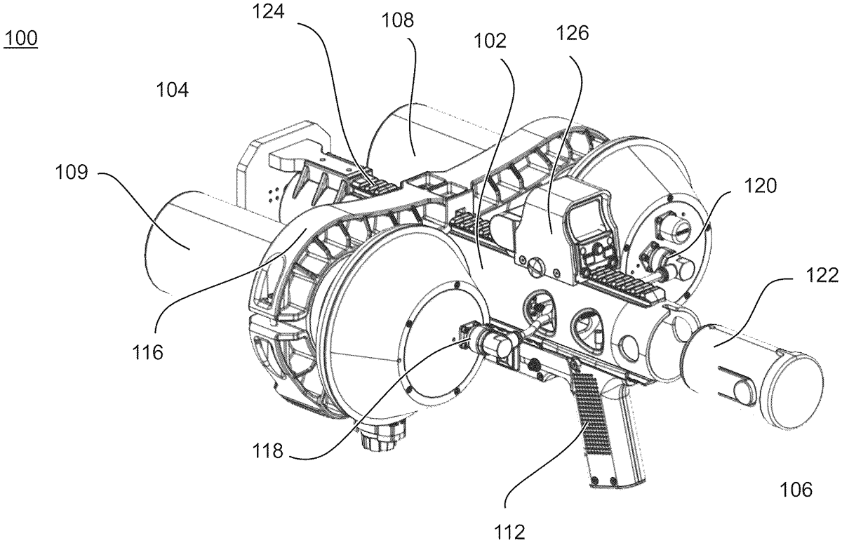
The patent describes a counter measure effector designed for targeting unmanned aerial vehicles (UAVs), featuring an antenna for emitting electromagnetic radiation and a telescopic sight with a dual-state optical system. The system is configured to change the optical appearance based on the activation state of the antenna, with a mounting rail that allows for mechanical and electrical connection of the sight.
Claim 1
- A counter measure effector for targeting unmanned aerial vehicles (UAVs), said counter measure effector comprising: at least one antenna for selectively emitting electromagnetic radiation; a mounting rail; and a telescopic sight comprising a sight mount for removable, mechanical connection to the mounting rail, and an optical system that is transferrable between a first state, in which the optical system has a first appearance, and a second state, in which the optical system has a second appearance that is different from the first appearance, wherein the counter measure effector is configured to set the optical system in its first state, when the at least one antenna is activated, and in its second state, when the at least one antenna is de-activated, and wherein the mounting rail and the sight mount comprise corresponding electrical contacts arranged such that the electrical contacts engage when the sight mount is mechanically connected to the mounting rail. at least one antenna for selectively emitting electromagnetic radiation; a mounting rail; and a telescopic sight comprising a sight mount for removable, mechanical connection to the mounting rail, and an optical system that is transferrable between a first state, in which the optical system has a first appearance, and a second state, in which the optical system has a second appearance that is different from the first appearance, wherein the counter measure effector is configured to set the optical system in its first state, when the at least one antenna is activated, and in its second state, when the at least one antenna is de-activated, and wherein the mounting rail and the sight mount comprise corresponding electrical contacts arranged such that the electrical contacts engage when the sight mount is mechanically connected to the mounting rail.
Google Patents
https://patents.google.com/patent/US12341604
USPTO PDF
https://image-ppubs.uspto.gov/dirsearch-public/print/downloadPdf/12341604