US12339105 - Target apparatus and method

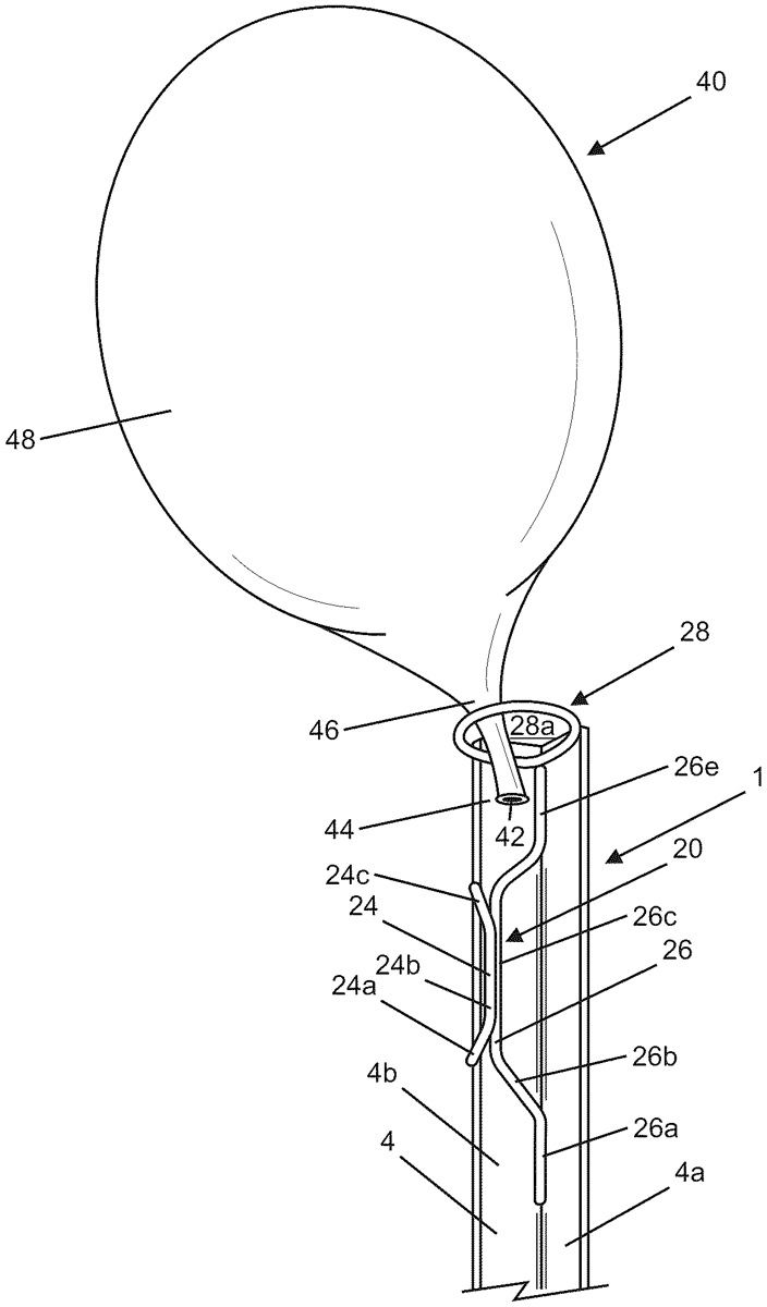
The patent describes a target apparatus designed for shooting practice, featuring a V-shaped member that connects to a base and includes a cleat for attaching inflated balloons. The construction allows for a gap between two members of the V-shaped design, which is visible from one side of a connected plate but concealed from the other side, enhancing the target’s visual appeal and functionality.
Claim 1
- A target apparatus comprising: a base; a first V-shaped member having a first end and an opposing second end, wherein the opposing second end is connected to the base; a first plate having a front surface and an opposing rear surface, wherein the first plate is connected to the first V-shaped member at the first end of the first V-shaped member; a first cleat connected to the rear surface of the first plate; wherein the first V-shaped member includes a first member and a second member; wherein the first member has a first edge and a second edge; wherein the second member has a first edge and a second edge; wherein the first edges of the first and second members are fixed together; wherein the second edges of the first and second members are separated by a gap; and wherein the first plate is connected to the first V-shaped member so that when the rear surface of the first plate is visible, the gap is visible, and when the front surface of the first plate is visible, the gap is not visible. a base; a first V-shaped member having a first end and an opposing second end, wherein the opposing second end is connected to the base; a first plate having a front surface and an opposing rear surface, wherein the first plate is connected to the first V-shaped member at the first end of the first V-shaped member; a first cleat connected to the rear surface of the first plate; wherein the first V-shaped member includes a first member and a second member; wherein the first member has a first edge and a second edge; wherein the second member has a first edge and a second edge; wherein the first edges of the first and second members are fixed together; wherein the second edges of the first and second members are separated by a gap; and wherein the first plate is connected to the first V-shaped member so that when the rear surface of the first plate is visible, the gap is visible, and when the front surface of the first plate is visible, the gap is not visible.
Google Patents
https://patents.google.com/patent/US12339105
USPTO PDF
https://image-ppubs.uspto.gov/dirsearch-public/print/downloadPdf/12339105