US12326552 - Removably attachable eyepiece shield

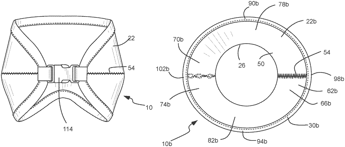
The patent describes a removably attachable eyepiece shield designed for sporting optics, featuring a frusto-conical shell with an oblong eye opening that is non-parallel to the eyepiece hole. It includes a flexible laminate material with an intermediate foam layer and a fastener system that allows the shield to be configured in both open and closed states.
Claim 1
- An eyepiece shield configured for a sporting optic, the eyepiece shield comprising: a) an irregular frusto-conical shell with a narrower end circumscribing no more than one eyepiece hole, and a wider end circumscribing an oblong eye opening that is non-parallel with the eyepiece hole and having a concave profile with respect to at least one viewing axis between the eyepiece hole and the eye opening; and b) the shell comprising a flexible and resilient material; and c) the shell comprising a laminate with different inner and outer layers sandwiching an intermediate foam layer; and d) a fastener with first and second fastener portions carried on opposite sides of the shell at the eye opening, respectively; and e) the shell having at least two configurations, including: i) an open configuration in which the eye opening is open and the fastener is unfastened with the first and second fastener portions separated; and ii) a closed configuration in which the opposite sides of the eye opening are folded in towards one another and the fastener is fastened with the first and second fastener portions joined together. a) an irregular frusto-conical shell with a narrower end circumscribing no more than one eyepiece hole, and a wider end circumscribing an oblong eye opening that is non-parallel with the eyepiece hole and having a concave profile with respect to at least one viewing axis between the eyepiece hole and the eye opening; and b) the shell comprising a flexible and resilient material; and c) the shell comprising a laminate with different inner and outer layers sandwiching an intermediate foam layer; and d) a fastener with first and second fastener portions carried on opposite sides of the shell at the eye opening, respectively; and e) the shell having at least two configurations, including: i) an open configuration in which the eye opening is open and the fastener is unfastened with the first and second fastener portions separated; and ii) a closed configuration in which the opposite sides of the eye opening are folded in towards one another and the fastener is fastened with the first and second fastener portions joined together. i) an open configuration in which the eye opening is open and the fastener is unfastened with the first and second fastener portions separated; and ii) a closed configuration in which the opposite sides of the eye opening are folded in towards one another and the fastener is fastened with the first and second fastener portions joined together.
Google Patents
https://patents.google.com/patent/US12326552
USPTO PDF
https://image-ppubs.uspto.gov/dirsearch-public/print/downloadPdf/12326552