US12313372 - Toy copter ring launcher with axially stacked ring magazine and improved copter ring

The patent describes a toy launcher designed to shoot flying rings over 100 feet with enhanced stability and accuracy through a unique ring and blade configuration. It features an axial magazine assembly for loading rings, a launching mechanism that rotates the rings for propulsion, and a system for advancing the next ring into position after each launch.
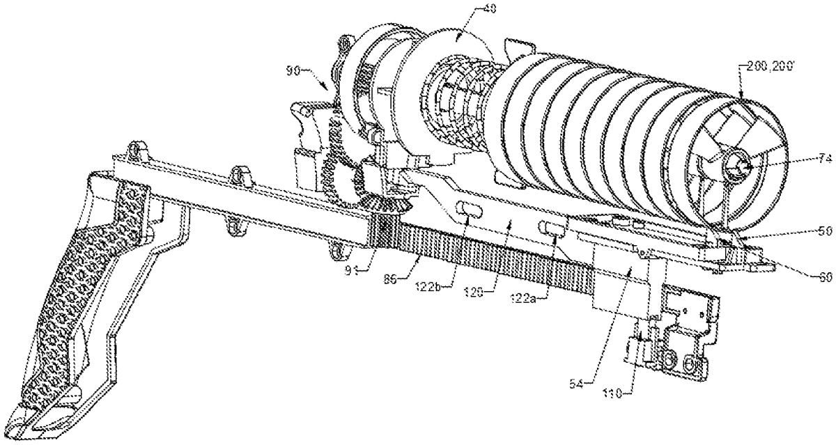
Claim 1
- A toy launcher for flying rings, each ring having a ring hub with a center opening, an outer ring body, and blades extending from the ring hub to the outer ring body, and the toy launcher comprising: a housing having a proximal end and a discharge end; a magazine assembly configured to receive a plurality of the rings axially aligned with one another for launching from the launcher, the magazine assembly comprising, a center tube extending along an axis that is adapted to slidably receive the rings, a spring that is configured to act on a first one of the rings inserted in the magazine and is supported against a part of the housing, a discharge catch located at the discharge end of the housing and configured to hold the ring located closest to a discharge end in a launch position, the discharge catch being movable between a holding position and a release position, and an advancing catch located at least about a ring width from the discharge catch toward the proximal end of the housing and configured to hold one or more of the rings on the center tube against a force of the spring, the advancing catch being movable between a holding position and a loading position; a launching mechanism connected to the housing, the launching mechanism comprising, a drive spindle extending through the center tube along the axis and having a drive hub that is configured to engage the ring hub of the ring held by the discharge catch, a drive assembly connected to the spindle that is activatable to rotate the spindle, and a discharge catch release that is activatable to move the discharge catch to the release position as the drive assembly is activated to rotate the spindle; and an advancing catch release that is activatable to move the advancing catch to a loading position in which a next one of the rings in the magazine assembly is moved to the launch position after a previous one of the rings is launched and the discharge catch has returned to the holding position. a housing having a proximal end and a discharge end; a magazine assembly configured to receive a plurality of the rings axially aligned with one another for launching from the launcher, the magazine assembly comprising, a center tube extending along an axis that is adapted to slidably receive the rings, a spring that is configured to act on a first one of the rings inserted in the magazine and is supported against a part of the housing, a discharge catch located at the discharge end of the housing and configured to hold the ring located closest to a discharge end in a launch position, the discharge catch being movable between a holding position and a release position, and an advancing catch located at least about a ring width from the discharge catch toward the proximal end of the housing and configured to hold one or more of the rings on the center tube against a force of the spring, the advancing catch being movable between a holding position and a loading position; a center tube extending along an axis that is adapted to slidably receive the rings, a spring that is configured to act on a first one of the rings inserted in the magazine and is supported against a part of the housing, a discharge catch located at the discharge end of the housing and configured to hold the ring located closest to a discharge end in a launch position, the discharge catch being movable between a holding position and a release position, and an advancing catch located at least about a ring width from the discharge catch toward the proximal end of the housing and configured to hold one or more of the rings on the center tube against a force of the spring, the advancing catch being movable between a holding position and a loading position; a launching mechanism connected to the housing, the launching mechanism comprising, a drive spindle extending through the center tube along the axis and having a drive hub that is configured to engage the ring hub of the ring held by the discharge catch, a drive assembly connected to the spindle that is activatable to rotate the spindle, and a discharge catch release that is activatable to move the discharge catch to the release position as the drive assembly is activated to rotate the spindle; and a drive spindle extending through the center tube along the axis and having a drive hub that is configured to engage the ring hub of the ring held by the discharge catch, a drive assembly connected to the spindle that is activatable to rotate the spindle, and a discharge catch release that is activatable to move the discharge catch to the release position as the drive assembly is activated to rotate the spindle; and an advancing catch release that is activatable to move the advancing catch to a loading position in which a next one of the rings in the magazine assembly is moved to the launch position after a previous one of the rings is launched and the discharge catch has returned to the holding position.
Google Patents
https://patents.google.com/patent/US12313372
USPTO PDF
https://image-ppubs.uspto.gov/dirsearch-public/print/downloadPdf/12313372