US12313359 - Expansion-compression baffle

suppressorfirearmbaffle
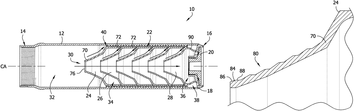
The patent describes a baffle for a firearm suppressor that features a tubular body with a proximal exterior surface adorned with spaced annular ridges designed to manage gas flow. These ridges create expansion and compression corners that facilitate energy dissipation in the gas, enhancing the suppressor’s effectiveness.
Claim 1
- A baffle for a firearm suppressor comprising a tubular body having a central axis, the tubular body being sized and shaped for receiving a bullet through the tubular body along the central axis from a proximal end of the tubular body to a distal end of the tubular body, the tubular body including a proximal exterior surface and a plurality of annular ridges on the proximal exterior surface, the annular ridges being spaced apart from each other in a direction along the central axis of the tubular body, a first of the ridges comprising a first annular compression surface having a proximal end and a distal end, the first annular compression surface angling away from the central axis at an angle skew to the central axis as the first annular compression surface extends from its proximal end to its distal end, the first annular compression surface being positioned for direct exposure proximally around its circumference to gas entering the firearm suppressor from a firearm when the baffle is mounted in the firearm suppressor and the firearm suppressor is attached to the firearm, and a first annular expansion surface extending from a proximal end to a distal end, the proximal end of the first annular expansion surface and distal end of the first annular compression surface at least partially defining a first expansion corner, an exterior angle between the first annular compression surface and the first annular expansion surface at the first expansion corner being greater than 180°, a second of the ridges comprising a second annular compression surface extending from a proximal end to a distal end, the proximal end of the second annular compression surface and the distal end of the first annular expansion surface at least partially defining a first compression corner, an exterior angle between the second annular compression surface and the first annular expansion surface at the first compression corner being less than 180° whereby gas flowing along the proximal exterior surface of the tubular body is expanded at the first expansion corner and compressed at the first compression corner to dissipate energy in the flowing gas.
Google Patents
https://patents.google.com/patent/US12313359
USPTO PDF
https://image-ppubs.uspto.gov/dirsearch-public/print/downloadPdf/12313359