US12312924 - Shaped charge load tube with integrated detonation cord retention mechanism

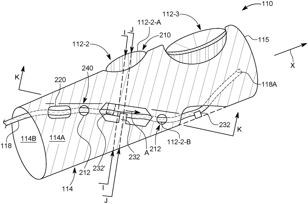
The patent describes a loading tube designed for use in a perforating gun, featuring an integrated mechanism to retain a detonator cord while accommodating multiple shaped charges. This design enhances the functionality and safety of the perforating gun by ensuring that the detonation cord is securely held and properly directed.
Claim 1
- A perforating gun for perforating a casing in a well, the perforating gun comprising: a casing extending along a longitudinal axis; a loading tube configured to fit inside a bore of the casing; plural shaped charges attached to the loading tube; and a detonation cord extending outside the loading tube and ballistically connecting the plural shaped charges, wherein the loading tube includes a retention cutoff formed into a tubular body of the loading tube, such that the detonation cord extends over the retention cutoff. a casing extending along a longitudinal axis; a loading tube configured to fit inside a bore of the casing; plural shaped charges attached to the loading tube; and a detonation cord extending outside the loading tube and ballistically connecting the plural shaped charges, wherein the loading tube includes a retention cutoff formed into a tubular body of the loading tube, such that the detonation cord extends over the retention cutoff.
Google Patents
https://patents.google.com/patent/US12312924
USPTO PDF
https://image-ppubs.uspto.gov/dirsearch-public/print/downloadPdf/12312924