US12298101 - Weapon sight grip

firearmaccessorysight
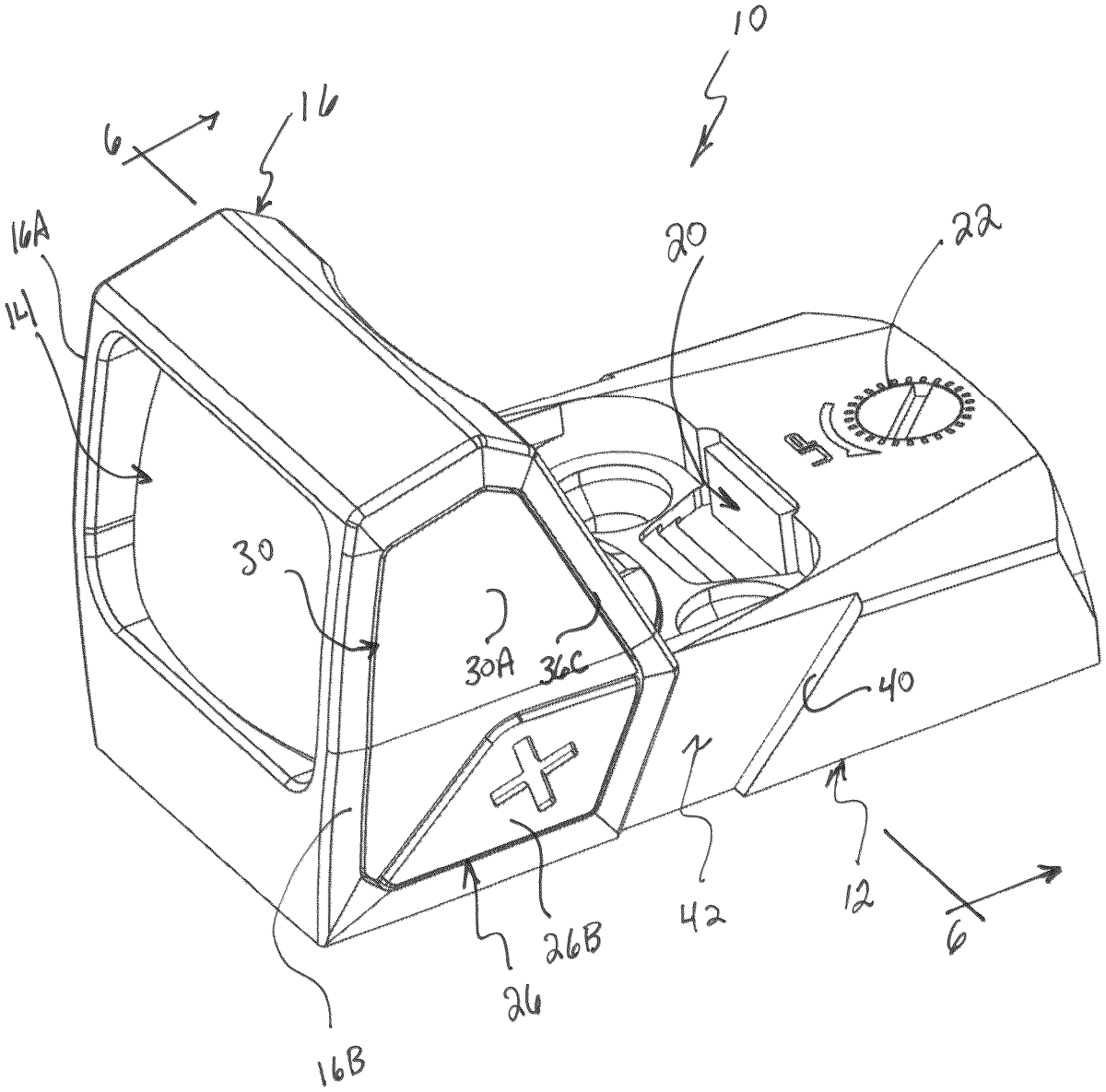
The patent describes a pistol sight designed to enhance user grip while aiming and operating the firearm, featuring a base for attachment and a sighting portion with an elastomeric grip. This grip is specifically designed to be more compressible than the sighting material, allowing users to easily rack the slide of the pistol using their fingers.
Claim 1
- A pistol sight for use on a pistol having a slide, the pistol sight comprising: a base including mount connection structure configured for connecting the pistol sight to the pistol; and a sighting portion supported by the base, the sighting portion being made of a first material and configured to assist a shooter of the firearm in aiming the firearm, the sighting portion including a post extending from the base upward above the base, the post including a grip comprising elastomeric material that is more compressible than the first material and attached to the first material of the sighting portion, the elastomeric material defining a gripping surface, wherein the gripping surface is recessed relative to the post and arranged to be engaged by a finger of a user to grip the pistol sight to rack the slide of the pistol. a base including mount connection structure configured for connecting the pistol sight to the pistol; and a sighting portion supported by the base, the sighting portion being made of a first material and configured to assist a shooter of the firearm in aiming the firearm, the sighting portion including a post extending from the base upward above the base, the post including a grip comprising elastomeric material that is more compressible than the first material and attached to the first material of the sighting portion, the elastomeric material defining a gripping surface, wherein the gripping surface is recessed relative to the post and arranged to be engaged by a finger of a user to grip the pistol sight to rack the slide of the pistol.
Google Patents
https://patents.google.com/patent/US12298101
USPTO PDF
https://image-ppubs.uspto.gov/dirsearch-public/print/downloadPdf/12298101