US12292254 - Virtual reality baton training device

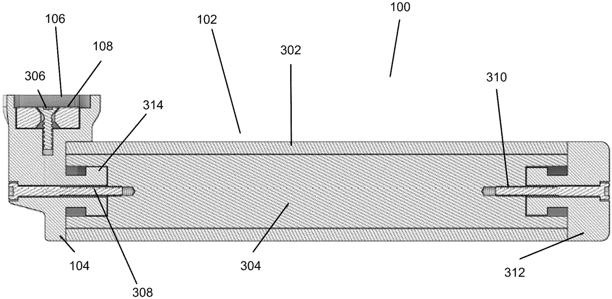
The patent describes a virtual reality weapon accessory that includes a baton and a tracker adapter designed to interface with a virtual reality tracker for enhanced training experiences. The tracker adapter features a groove with a magnet for secure attachment to the tracker, a pin pad for signal connections, and a detect switch to transmit electrical signals when in use.
Claim 1
- A virtual reality weapon accessory comprising: a baton; a virtual reality tracker to communicate with a virtual reality computing device and comprising a strike plate and a pin connector; and a tracker adapter fixed to the baton and removably coupled to the virtual reality tracker, the tracker adapter including: a groove comprising a female socket configured to receive the strike plate of the virtual reality tracker, the groove including a magnet that attracts to the strike plate; a pin pad configured to establish signal connections with the pin connector of the virtual reality tracker when the virtual reality tracker is coupled to the tracker adapter; and a detect switch to send an electrical signal to the virtual reality tracker over the pin pad when the virtual reality tracker is coupled to the tracker adapter. a baton; a virtual reality tracker to communicate with a virtual reality computing device and comprising a strike plate and a pin connector; and a tracker adapter fixed to the baton and removably coupled to the virtual reality tracker, the tracker adapter including: a groove comprising a female socket configured to receive the strike plate of the virtual reality tracker, the groove including a magnet that attracts to the strike plate; a pin pad configured to establish signal connections with the pin connector of the virtual reality tracker when the virtual reality tracker is coupled to the tracker adapter; and a detect switch to send an electrical signal to the virtual reality tracker over the pin pad when the virtual reality tracker is coupled to the tracker adapter. a groove comprising a female socket configured to receive the strike plate of the virtual reality tracker, the groove including a magnet that attracts to the strike plate; a pin pad configured to establish signal connections with the pin connector of the virtual reality tracker when the virtual reality tracker is coupled to the tracker adapter; and a detect switch to send an electrical signal to the virtual reality tracker over the pin pad when the virtual reality tracker is coupled to the tracker adapter.
Google Patents
https://patents.google.com/patent/US12292254
USPTO PDF
https://image-ppubs.uspto.gov/dirsearch-public/print/downloadPdf/12292254