US12287181 - Control surface deployment and actuation

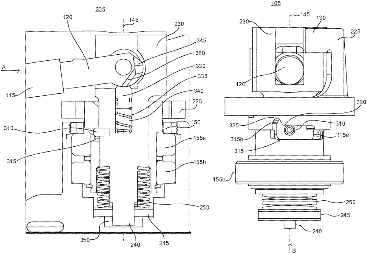
The patent describes a device for the deployment and actuation of a control surface on a maneuverable object, featuring an actuation shaft and an output gear that can unlock the control surface from a stowed position. The mechanism allows for independent rotation of the output gear and actuation shaft under certain conditions, enhancing maneuverability.
Claim 1
- A device for deployment and actuation of a control surface for a maneuverable object, comprising: an actuation shaft configured for pivotal mounting to a control surface shaft, arranged for rotation about a longitudinal axis of the device, and operable to move the control surface shaft when rotated about the longitudinal axis; an output gear arranged concentric with the actuation shaft, arranged for rotation about the longitudinal axis, and configured to unlock the control surface from a stowed position when rotated about the longitudinal axis; and a pin integral with, or attached to, the actuation shaft and protruding through an opening in the output gear, the opening having a circumferentially extending portion extending circumferentially about the longitudinal axis and a longitudinally extending portion extending along the longitudinal axis, wherein the output gear is operable to rotate about the longitudinal axis independent of the actuation shaft when the pin is in the circumferentially extending portion of the opening, and the output gear and actuation shaft are operable to rotate together about the longitudinal axis when the pin is in the longitudinally extending portion of the opening. an actuation shaft configured for pivotal mounting to a control surface shaft, arranged for rotation about a longitudinal axis of the device, and operable to move the control surface shaft when rotated about the longitudinal axis; an output gear arranged concentric with the actuation shaft, arranged for rotation about the longitudinal axis, and configured to unlock the control surface from a stowed position when rotated about the longitudinal axis; and a pin integral with, or attached to, the actuation shaft and protruding through an opening in the output gear, the opening having a circumferentially extending portion extending circumferentially about the longitudinal axis and a longitudinally extending portion extending along the longitudinal axis, wherein the output gear is operable to rotate about the longitudinal axis independent of the actuation shaft when the pin is in the circumferentially extending portion of the opening, and the output gear and actuation shaft are operable to rotate together about the longitudinal axis when the pin is in the longitudinally extending portion of the opening.
Google Patents
https://patents.google.com/patent/US12287181
USPTO PDF
https://image-ppubs.uspto.gov/dirsearch-public/print/downloadPdf/12287181