US12276474 - Multi-tube grenade loading device

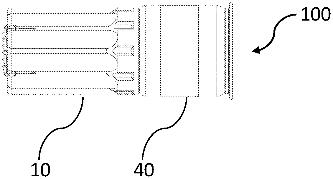
The patent describes a multi-tube grenade loading device designed to efficiently load a large number of pellets into a toy grenade’s accommodation cylinders. It features an upper portion with circumferential sections for pellet distribution and a lower portion with queue tubes that facilitate the flow of pellets into the grenade.
Claim 1
- A method for loading large numbers of pellets at a time, comprising: a toy grenade with a cylindrical shell, wherein the cylindrical shell includes a central bore surrounded by a plurality of circumferentially arranged accommodation cylinders to allow each of the accommodation cylinders to receive pellets; and a loading device comprises a body having an upper portion and a lower portion, wherein the upper portion includes a plurality of circumferentially arranged sections, separated by a plurality of circumferentially arranged distribution walls; and the lower portion includes a central opening, which is symmetrical about a centerline and has an circumference around which a plurality of circumferentially arranged queue tubes are configured to allow each of the queue tubes to receive a free flow of pellets from the upper portion, via a top inlet connected to each of the circumferentially arranged sections of the upper portion, wherein the method performs the following steps: loading a plurality of pellets into the loading device by pouring into the upper portion; aligning the plurality of queue tubes with the plurality of accommodation cylinders; receiving a predetermined number of pellets into each of the accommodation cylinders from each aligned queue tube; blocking the bottom outlet of each queue tube in the loading device with a flexible ring, wherein the flexible ring is a circular ring in a relaxed state aligns with and covers at least a portion of the plurality of accommodation cylinders, and wherein, in response to a motivating force from the loading device, the flexible ring is flexed away from covering the portion of the accommodating cylinders to allow the flow of pellets into the accommodating cylinders from the aligned queue tubes; and removing the loading device. a toy grenade with a cylindrical shell, wherein the cylindrical shell includes a central bore surrounded by a plurality of circumferentially arranged accommodation cylinders to allow each of the accommodation cylinders to receive pellets; and a loading device comprises a body having an upper portion and a lower portion, wherein the upper portion includes a plurality of circumferentially arranged sections, separated by a plurality of circumferentially arranged distribution walls; and the lower portion includes a central opening, which is symmetrical about a centerline and has an circumference around which a plurality of circumferentially arranged queue tubes are configured to allow each of the queue tubes to receive a free flow of pellets from the upper portion, via a top inlet connected to each of the circumferentially arranged sections of the upper portion, wherein the method performs the following steps: loading a plurality of pellets into the loading device by pouring into the upper portion; aligning the plurality of queue tubes with the plurality of accommodation cylinders; receiving a predetermined number of pellets into each of the accommodation cylinders from each aligned queue tube; blocking the bottom outlet of each queue tube in the loading device with a flexible ring, wherein the flexible ring is a circular ring in a relaxed state aligns with and covers at least a portion of the plurality of accommodation cylinders, and wherein, in response to a motivating force from the loading device, the flexible ring is flexed away from covering the portion of the accommodating cylinders to allow the flow of pellets into the accommodating cylinders from the aligned queue tubes; and removing the loading device.
Google Patents
https://patents.google.com/patent/US12276474
USPTO PDF
https://image-ppubs.uspto.gov/dirsearch-public/print/downloadPdf/12276474